Запчасти Case IH FARMALL 75C (18.104.AS[02]) - VAR - 333068, 333069, 390068 - PTO CLUTCH, CYLINDER, COMPONENTS, CAB (18) - CLUTCH

Схема запчастей Case IH FARMALL 75C - (18.104.AS[02]) - VAR - 333068, 333069, 390068 - PTO CLUTCH, CYLINDER, COMPONENTS, CAB (18) - CLUTCH
2
7
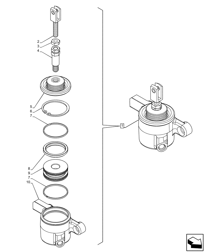
1
5
7
4
9
3
6
10
8
FIT
1:1
100%

Артикул

Название

Примечание

Количество

1

84342333

CYLINDER

ASSY, Incl 2 - 10

1шт.

2

5183675

CLEVIS,M10 x 1.25mm

1шт.

3

10791014

NUT,M10 x 1.25, Cl 04

1шт.

4

84515276

STUD,M10 x 1.25 x 63mm L

1шт.

5

5183723

BELLOWS

1шт.

6

84163829

RING,58mm, PHC

58mm ID

1шт.

7

5185835

RING,51.8mm ID x 55mm OD x 2.5mm Thk

55mm OD x 2.5mm Thk

2шт.

8

5185834

SEAL,45mm ID x 55mm OD x 7mm Thk

45mm ID x 55mm OD x 7mm Thk

1шт.

9

84342331

PISTON,OD 54.5mm

1шт.

10

84342332

VALVE

1шт.

Выбрано товаров: 10