Запчасти Case IH FARMALL 75C (41.101.AF[02]) - VAR - 334187, 334190, 392315 - STEERING COLUMN, W/O CAB (41) - STEERING

Схема запчастей Case IH FARMALL 75C - (41.101.AF[02]) - VAR - 334187, 334190, 392315 - STEERING COLUMN, W/O CAB (41) - STEERING
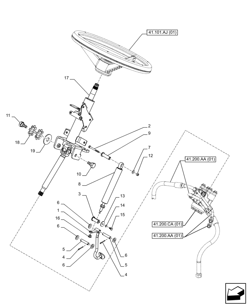
1
41.200.aa (01)
9
8
4
6
5
13
41.200.ca (01)
18
15
19
41.200.aa (01)
6
12
10
16
7
4
5
2
41.101.aj (01)
6
11
3
6
17
14
FIT
1:1
100%

Артикул

Название

Примечание

Количество

1

84391237

LEVER

1шт.

2

338413

BOLT,Hex, M6 x 60mm, Cl 8.8

1шт.

3

84219532

PIN,20mm OD x 33.5mm L

1шт.

4

10733601

COTTER PIN,M3.2 x 22

4шт.

5

84219530

PIN,9.8mm OD x 48mm L

2шт.

6

14496601

WASHER,10.5mm ID x 21mm OD x 2mm Thk

4шт.

7

14498801

WASHER,6.4mm ID x 16.3mm OD x 1mm Thk

1шт.

8

47395995

GAS STRUT

1шт.

9

84219498

SHAFT

1шт.

10

47389395

SCREW,Hex, M10 x 1.25 x 30mm

1шт.

11

84219536

SCREW,Hex, M10 x 1.25 x 28mm

1шт.

12

12574211

NUT,M6 x 1, Cl 8

1шт.

13

12640601

WASHER,6.15mm ID x 25mm OD x 2mm Thk

1шт.

14

10615479

LOCK WASHER,6.4mm ID x 11mm OD x 0.7mm Thk

1шт.

15

10902021

BOLT,Hex, M6 x 12mm, Cl 8.8

1шт.

16

82003283

PLUG,10.5mm OD

1шт.

17

84219495

BRACKET

1шт.

18

47389397

SPRING

2шт.

19

47389390

DISC,18mm ID x 50mm OD x 3mm Thk

1шт.

Выбрано товаров: 19