Запчасти Case IH FARMALL 75C (90.116.AC[12]) - VAR - 334190 - 335744 - FRAME, ROPS, LINING, W/O CAB (90) - PLATFORM, CAB, BODYWORK AND DECALS

Схема запчастей Case IH FARMALL 75C - (90.116.AC[12]) - VAR - 334190 - 335744 - FRAME, ROPS, LINING, W/O CAB (90) - PLATFORM, CAB, BODYWORK AND DECALS
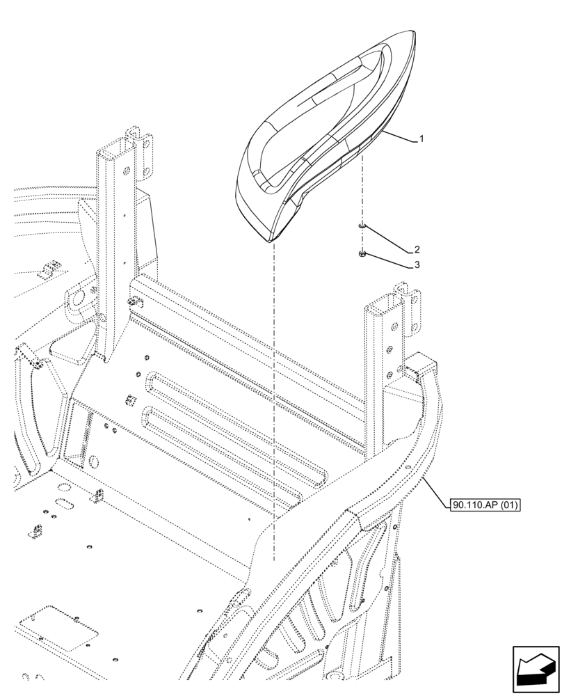
2
3
90.110.ap (01)
1
FIT
1:1
100%

Артикул

Название

Примечание

Количество

1

47670654

LINING

1шт.

2

10516679

LOCK WASHER,Helical Spring, 8.20mm ID x 14.80mm OD x 2.20mm, C72, ZNM

4шт.

3

16100811

NUT,Hex, M8, 6.80mm, Cl 8, ZND

4шт.

Выбрано товаров: 3