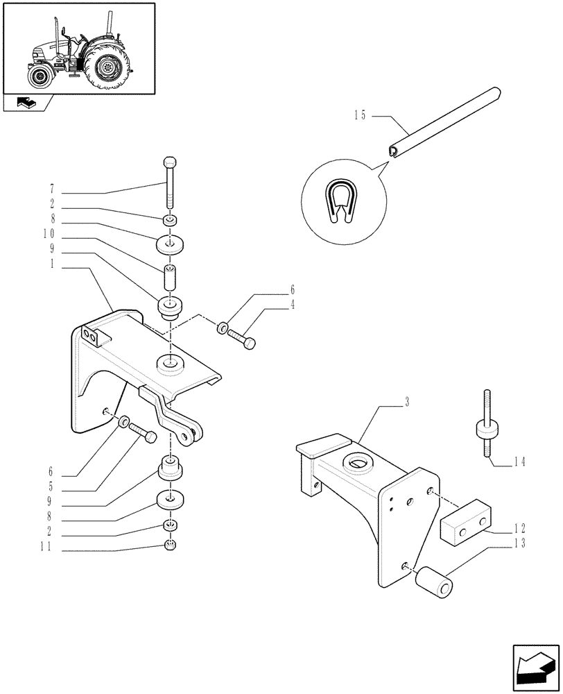
Запчасти Case IH FARMALL 80 (1.87.0/02[02]) - POWER SHUTTLE E SERVO FOR DIFF.LOCK- SUPPORT - L/CAB (VAR.330120-331120) (08) - SHEET METAL

Схема запчастей Case IH FARMALL 80 - (1.87.0/02[02]) - POWER SHUTTLE E SERVO FOR DIFF.LOCK- SUPPORT - L/CAB (VAR.330120-331120) (08) - SHEET METAL
2
3
5
8
7
6
12
1
4
8
home
11
9
15
2
10
9
6
14
13
FIT
1:1
100%

Артикул

Название

Примечание

Количество

1

84145294

SUPPORT

RH

1шт.

2

12648531

WASHER,12.2mm ID x 28mm OD x 4mm Thk

6шт.

3

84413943

FOOT BOARD

LH

1шт.

4

15981421

SCREW,Hex, M16 x 1.5 x 85mm, Cl 8.8

M16 x 1.5 x 85

4шт.

5

11369624

BOLT,Hex, M16 x 1.5 x 110, 8.8

2шт.

6

12601774

WAVE WASHER,17mm ID x 30mm OD x 1.60mm, 6.30mm Max, CST, DAC

6шт.

7

15541921

BOLT,Hex, M12 x 1.25 x 130mm, Cl 8.8

2шт.

8

5167723

WASHER,12.5mm ID x 75mm OD x 4mm Thk

4шт.

9

5187531

RUBBER WASHER,16.5mm ID x 60mm OD x 20mm Thk

6шт.

10

5167724

SPACER,12.25mm ID x 17mm OD x 38mm L

4шт.

11

16105021

LOCK NUT,M12 x 1.25, Cl 10

6шт.

12

5092834

SPACER

2шт.

13

87626408

SPACER,17mm ID x 30mm OD x 64.4mm L

2шт.

14

87396006

CROSS

2шт.

15

87747801

SEAL,60mm L

1шт.

Выбрано товаров: 15