Запчасти Case IH FARMALL 85C (1.74.1/01) - FRONT AXLE WITH EL.HYDR. DIFF. LOCK (40 KM/H) FOR FRONT HPL- BATTERY MOUNTING (VAR.332323-332329-335329) (06) - ELECTRICAL SYSTEMS

Схема запчастей Case IH FARMALL 85C - (1.74.1/01) - FRONT AXLE WITH EL.HYDR. DIFF. LOCK (40 KM/H) FOR FRONT HPL- BATTERY MOUNTING (VAR.332323-332329-335329) (06) - ELECTRICAL SYSTEMS
7
3
3
1
8
4
6
5
3
2
9
home
FIT
1:1
100%

Артикул

Название

Примечание

Количество

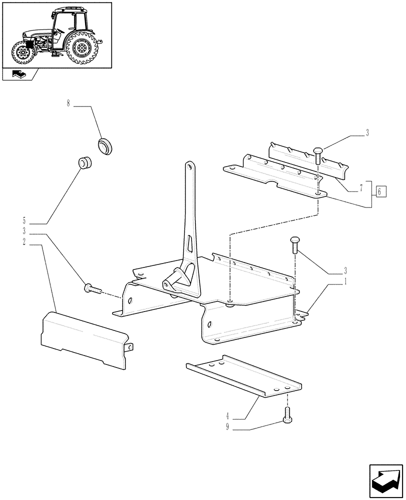
1

87596327

COVER

1шт.

2

47056996

PLATE

1шт.

3

15970521

BOLT,Hex, M10 x 1.25 x 20mm, Cl 8.8, Full Thd

8шт.

4

87610896

PLATE

1шт.

5

10398680

GROMMET,25mm ID x 33mm GRV ø x 42mm OD x 15mm Thk

25x5

1шт.

6

5174462

CROSSRAIL

1шт.

7

5174457

PAD

2шт.

8

5112607

PLUG

D=15,5

1шт.

9

16043221

BOLT,Hex, M8 x 16mm, Cl 8.8, Full Thd

4шт.

Выбрано товаров: 9