Запчасти Case IH FARMALL 85C (10.216.AI[01]) - VAR - 743543, 744574 - FUEL TANK W/O PROTECTION (10) - ENGINE

Схема запчастей Case IH FARMALL 85C - (10.216.AI[01]) - VAR - 743543, 744574 - FUEL TANK W/O PROTECTION (10) - ENGINE
3
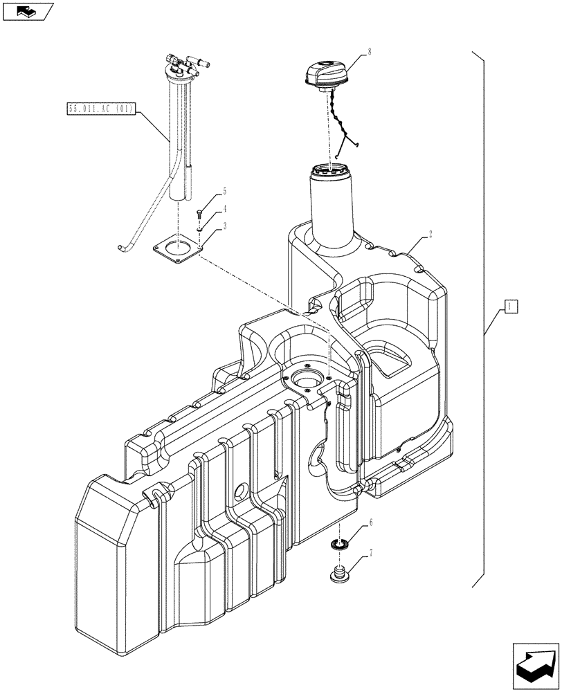
1
8
4
6
7
2
5
home
55.011.ac (01)
FIT
1:1
100%

Артикул

Название

Примечание

Количество

1

84411419

FUEL TANK

ASSY, Incl 2 - 8 and Sender Unit P/N 84412999 shown in figure 55.011.AC 01

1шт.

2

NSS

NOT SOLD SEPARAT

Fuel tank, Incl in 1

1шт.

3

87341216

PLATE

1шт.

4

11197774

BELLEVILLE WASHER,M6 Bolt Size x 12mm OD x 1.2mm Thk

4шт.

5

10902324

BOLT,Hex, M6 x 18mm, Cl 8.8, Full Thd

4шт.

6

5093981

SEAL,23mm ID x 41mm OD x 3.8mm Thk

1шт.

7

5094121

PLUG,Hex socket, M24 x 1

1шт.

8

87610994

CAP,103mm OD x 69.7mm Thk

1шт.

Выбрано товаров: 8