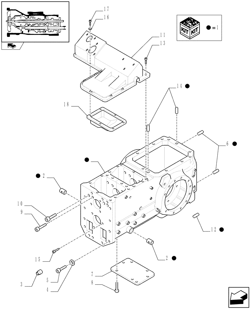
Запчасти Case IH FARMALL 90 (1.21.0[02A]) - TRACTOR BODY - CAPS AND COVERS - D6839 (03) - TRANSMISSION

Схема запчастей Case IH FARMALL 90 - (1.21.0[02A]) - TRACTOR BODY - CAPS AND COVERS - D6839 (03) - TRANSMISSION
1
15
1
1
9
6
1
1
7
10
4
3
16
11
17
5
12
8
2
18
home
13
1
1
14
1
2
FIT
1:1
100%

Артикул

Название

Примечание

Количество

1

84365338

TRANSMISSION HOUSING

, Serial Range: -C6899

1шт.

1

84424254

TRANSMISSION HOUSING

, Start Serial: D6899

1шт.

2

5118942

BUSHING,30.05mm ID x 34mm OD x 30mm L

1шт.

3

14328504

PLUG

D=16, VAR. 335250

1шт.

4

12601574

WAVE WASHER,Wave, M13

95 Model

2шт.

5

87305939

HEX SOC SCREW,M12 x 1.25 x 105mm

95 Model

3шт.

6

10839810

DOWEL,12mm OD x 18mm L

2шт.

7

5195411

COVER

2WD

1шт.

8

15540424

SCREW,Hex, M12 x 1.25 x 30mm, Cl 8.8, Full Thd

6шт.

9

15540721

SCREW,Hex, M12 x 1.25 x 45mm, Cl 8.8, Full Thd

2шт.

10

15540621

SCREW,Hex, M12 x 1.25 x 40mm, Cl 8.8, Full Thd

13шт.

11

5089402

COVER

1шт.

12

10839910

DOWEL,15mm OD x 20mm L

2шт.

13

84203262

BOLT,M10 x 1.25 x 55mm

M10x1.25x55

1шт.

13

15888721

BOLT,Hex, M10 x 1.25 x 55mm, Cl 8.8

8шт.

14

5119529

DOWEL,15mm OD x 22mm L

2шт.

15

14331330

HEX SOC SCREW,M12 x 1.25 x 40mm, Cl 10.9, Full Thd

3шт.

16

11197779

BELLEVILLE WASHER,M6 Bolt Size x 12mm OD x 1.2mm Thk

6шт.

17

14305111

SCREW,Cheese Hd, M6 x 12mm

6шт.

18

5089709

GUARD

1шт.

Выбрано товаров: 20