Запчасти Case IH FARMALL 90 (1.21.0/01[02]) - 20X12 TRANSMISSION WITH SYNCHRO SHUTTLE AND CREEPER - TRACTOR BODY (VAR.335113-335115-336115-743904) (03) - TRANSMISSION

Схема запчастей Case IH FARMALL 90 - (1.21.0/01[02]) - 20X12 TRANSMISSION WITH SYNCHRO SHUTTLE AND CREEPER - TRACTOR BODY (VAR.335113-335115-336115-743904) (03) - TRANSMISSION
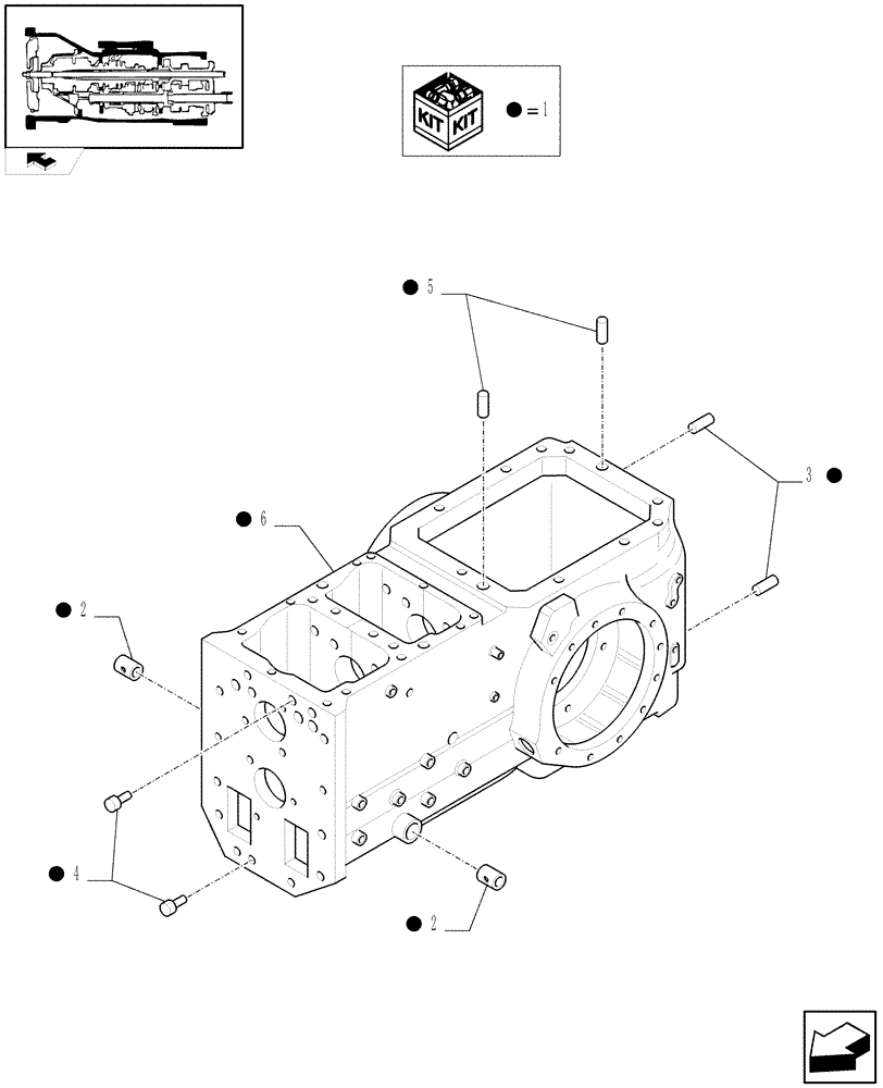
2
1
6
5
2
1
home
4
1
3
1
1
1
1
1
FIT
1:1
100%

Артикул

Название

Примечание

Количество

1

87626844

HOUSING

, Serial Range: -C6263

1шт.

1

84153147

HOUSING

, Start Serial: D6263

1шт.

2

5118942

BUSHING,30.05mm ID x 34mm OD x 30mm L

1шт.

3

10839810

DOWEL,12mm OD x 18mm L

M12 x 18

2шт.

3

10839910

DOWEL,15mm OD x 20mm L

M15 x 20

2шт.

3

5119529

DOWEL,15mm OD x 22mm L

M15 x 22, Start Serial: D6263

1шт.

4

5163325

DOWEL

2шт.

5

10159004

PLUG,M25, Tapered

2шт.

6

87626845

HOUSING

, Serial Range: -C6263

1шт.

6

84153147

HOUSING

, Start Serial: D6263

1шт.

Выбрано товаров: 10