Запчасти Case IH FARMALL 90 (1.40.4/06[01]) - CLASS 2 FRONT AXLE WITH 2ND STEERING CYL.& LIMITED SLIP (30KM ) - BEVEL GEAR PINION SET (VAR.335539-743906) (04) - FRONT AXLE & STEERING

Схема запчастей Case IH FARMALL 90 - (1.40.4/06[01]) - CLASS 2 FRONT AXLE WITH 2ND STEERING CYL.& LIMITED SLIP (30KM ) - BEVEL GEAR PINION SET (VAR.335539-743906) (04) - FRONT AXLE & STEERING
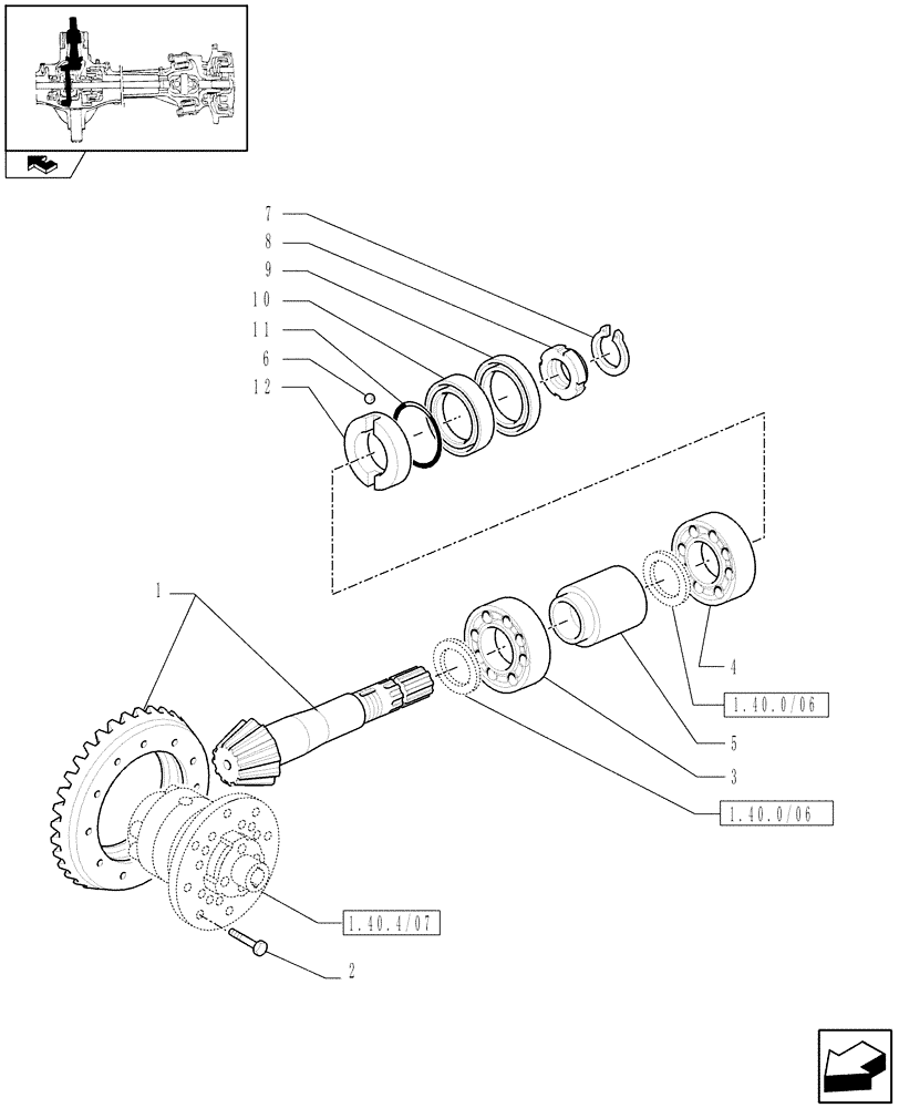
3
12
1.40.0/06
4
9
6
home
2
1.40.4/07
1
5
11
10
8
1.40.0/06
7
FIT
1:1
100%

Артикул

Название

Примечание

Количество

1

5142023

GEAR SET

Ratio 9/39

1шт.

2

14274434

LOCK BOLT,Hex, M12 x 1.25 x 25mm, Cl 10.9, Full Thd

1шт.

3

5143109

TAPERED BEARING,41.27mm x 82.55mm x 26.54mm

41.275x82.550x26.543

1шт.

4

5169235

SPACER,35.4mm ID x 42mm OD x 63.5mm L

1шт.

5

5133776

TAPERED BEARING,35.00mm x 72.00mm x 28.00mm

35x72x28

1шт.

6

20419320

BALL,6.35mm OD

D=6.35

1шт.

7

11067776

SNAP RING,M29, Ext

1шт.

8

5143242

RING NUT,M35 x 1.5

M35

1шт.

9

4997451

SEAL PROTECTION,45.4mm ID x 75mm OD x 1mm Thk

1шт.

10

5135294

SEAL,45mm ID x 75mm OD x 12mm Thk

Double Lip, 45x75x10/12

1шт.

11

579359

O-RING,1.239" ID x 1.379" OD x 0.07"

1шт.

12

5142026

RING,35.1mm ID x 45mm OD x 22mm L

1шт.

Выбрано товаров: 12