Запчасти Case IH FARMALL 90 (1.40.7/08[02]) - CLASS 2 FRONT AXLE WITH 2ND STEERING CYL. & LIMITED SLIP (40KM/H)- POWER STEER. CYLIN. (VAR.335542-743906-743552) (04) - FRONT AXLE & STEERING

Схема запчастей Case IH FARMALL 90 - (1.40.7/08[02]) - CLASS 2 FRONT AXLE WITH 2ND STEERING CYL. & LIMITED SLIP (40KM/H)- POWER STEER. CYLIN. (VAR.335542-743906-743552) (04) - FRONT AXLE & STEERING
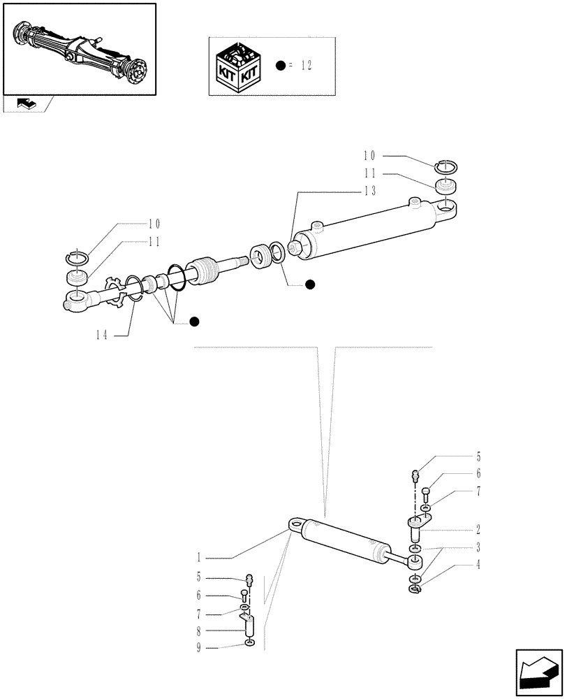
13
12
10
8
12
9
7
3
4
7
home
14
2
1
11
6
5
6
10
11
5
12
FIT
1:1
100%

Артикул

Название

Примечание

Количество

1

5164023

STEERING CYLINDER,Double Acting, 22mm Rod, 208mm Stroke

2шт.

5164023R

REMAN-HYD CYLINDER

FARMALL 90, FARMALL 95 BOTH TIER 3 (1/07-)

2шт.

5164023C

CORE-HYD CYLINDER

Return Number

1шт.

2

5173252

PIN,19.98mm OD x 79.5mm L

2шт.

3

5100730

WASHER,20.5mm ID x 28mm OD x 5.25mm Thk

4шт.

4

11066876

SNAP RING,M20, Ext

2шт.

5

5120532

LUBE NIPPLE,Straight, M14 x 1.5 x 6.50mm

2шт.

5

87414

LUBE NIPPLE,1/4" - 28

2шт.

6

16043424

SCREW,Hex, M8 x 1.25 x 20mm, Cl 8.8, Full Thd

4шт.

7

11193874

BELLEVILLE WASHER,M8 Bolt Size x 16mm OD x 1.4mm Thk

2шт.

8

5142048

PIN,19.98mm x 107.00mm

2шт.

9

5142223

SPACER,20.5mm ID x 28mm OD x 16mm L

20.5 x 28 x 16

2шт.

10

5190903

LOCKING RING

1шт.

11

5190901

BUSHING

1шт.

12

5190916

SEAL KIT

1шт.

13

15504021

NUT,M16 x 1.5

2шт.

14

5190568

LOCKING RING

1шт.

Выбрано товаров: 17