Запчасти Case IH FARMALL 90 (1.74.2) - BATTERY, COVERS AND RELATED SUPPORTS (06) - ELECTRICAL SYSTEMS

Схема запчастей Case IH FARMALL 90 - (1.74.2) - BATTERY, COVERS AND RELATED SUPPORTS (06) - ELECTRICAL SYSTEMS
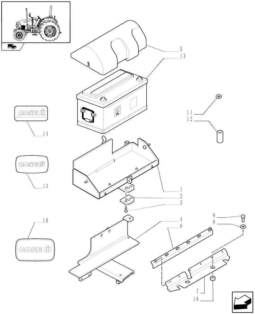
2
12
11
6
1
15
16
13
7
10
9
4
home
3
14
8
5
FIT
1:1
100%

Артикул

Название

Примечание

Количество

1

87626418

BATTERY BOX

1шт.

2

87626432

SPACER

1шт.

3

13298917

SCREW,M5 x 8mm

2шт.

4

87625668

SUPPORT

1шт.

5

87626439

PLATE

1шт.

6

4975018

PAD

1шт.

7

87680841

SUPPORT

1шт.

8

15972629

SCREW,M10 x 1.25 x 140mm

1шт.

9

12601471

WAVE WASHER,10.5mm OD x 21mm ID x 1mm Thk

1шт.

10

16100811

NUT,Hex, M8, 6.80mm, Cl 8, ZND

2шт.

11

11193974

BELLEVILLE WASHER,M8 Bolt Size x 22mm OD x 1.5mm Thk

2шт.

12

87626408

SPACER,17mm ID x 30mm OD x 64.4mm L

1шт.

13

B45630W

WET BATTERY

USA, 132 AH, 960CCA

1шт.

13

CC45630W

WET BATTERY

Canada, 132 AH, 960CCA

1шт.

13

BCH4DLTW

WET BATTERY,BCI 4DLT, 12V, 1000CCA

USA

1шт.

13

CCH4DLTW

WET BATTERY,BCI 4DLT, 12V, 1000CCA

Canada

1шт.

14

5093062

DECAL

, Serial Range: -C5858

4шт.

15

87679098

DECAL,37mm x 70mm

, Start Serial: D5858

4шт.

16

87679108

DECAL

1шт.

Выбрано товаров: 19