Качественные детали и логистика
Оригинальные и аналоговые запчасти с доставкой по России, Казахстану и Беларуси
©2022 PartSell ООО "Система" ИНН 2463123282 ОГРН 1212400004838
Центральный офис: г. Красноярск, Академика Киренского, д.87, пом.4
Телефон: 8 (800) 777-65-74 Email: zakaz@partsell.ru
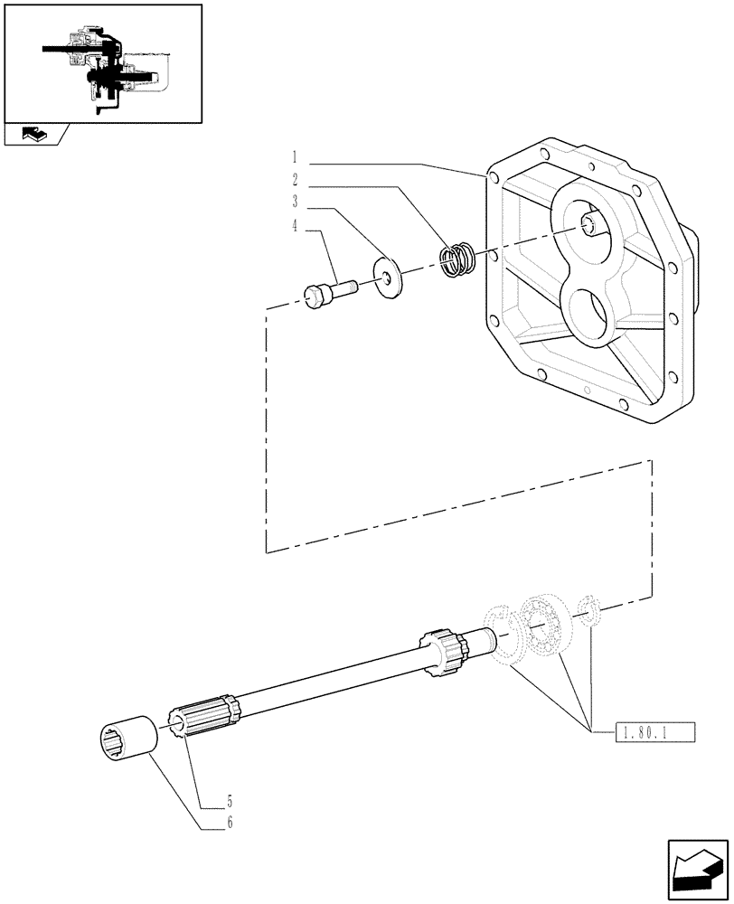
(1.80.1/01) - 2 SPEED PTO
№
Артикул
Название
Примечание
Количество
1
47127606
COVER
1шт.
2
47127604
SPRING,Compression, 31mm OD x 33.3mm L
3
47131175
BRAKE DISC,14mm ID x 70mm OD x 4mm Thk
4
47130774
PIN,13.5mm OD x 22mm L
5
47132989
SHAFT
6
5198038
SLEEVE,12T
Выбрано товаров: 0