Запчасти Case IH FARMALL 90 (1.87.0/01[02]) - BRACKETS FOR FRONT AUXILIARY EQUIPMENTS - SUPPORT - L/CAB (VAR.335460-335522) (08) - SHEET METAL

Схема запчастей Case IH FARMALL 90 - (1.87.0/01[02]) - BRACKETS FOR FRONT AUXILIARY EQUIPMENTS - SUPPORT - L/CAB (VAR.335460-335522) (08) - SHEET METAL
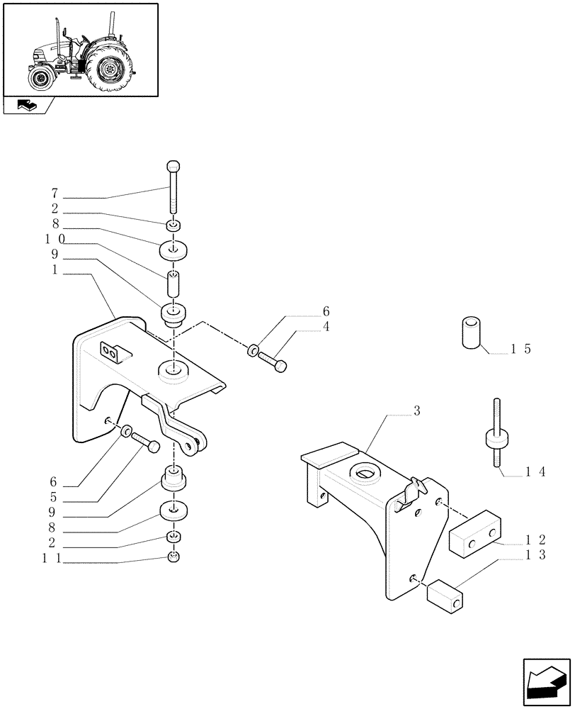
11
10
1
8
9
8
15
14
5
6
3
12
2
7
6
home
4
2
9
13
FIT
1:1
100%

Артикул

Название

Примечание

Количество

1

84145294

SUPPORT

RH

1шт.

2

12648531

WASHER,12.2mm ID x 28mm OD x 4mm Thk

6шт.

3

87391996

SUPPORT

LH

1шт.

4

15981421

SCREW,Hex, M16 x 1.5 x 85mm, Cl 8.8

M16x1.5x85

4шт.

5

11369624

BOLT,Hex, M16 x 1.5 x 110, 8.8

2шт.

6

12601774

WAVE WASHER,17mm ID x 30mm OD x 1.60mm, 6.30mm Max, CST, DAC

6шт.

7

15541921

BOLT,Hex, M12 x 1.25 x 130mm, Cl 8.8

2шт.

8

5167723

WASHER,12.5mm ID x 75mm OD x 4mm Thk

6шт.

9

5187531

RUBBER WASHER,16.5mm ID x 60mm OD x 20mm Thk

8шт.

10

5167724

SPACER,12.25mm ID x 17mm OD x 38mm L

4шт.

11

16105021

LOCK NUT,M12 x 1.25, Cl 10

6шт.

12

5092834

SPACER

2шт.

13

5092835

SPACER

2шт.

14

87396006

CROSS

2шт.

15

87626409

SPACER

1шт.

Выбрано товаров: 15