Запчасти Case IH FARMALL 95U (1.80.1/01[01]) - MECH. 540/750 POWER TAKE OFF - COVER, GUARD AND SENSOR (07) - HYDRAULIC SYSTEM

Схема запчастей Case IH FARMALL 95U - (1.80.1/01[01]) - MECH. 540/750 POWER TAKE OFF - COVER, GUARD AND SENSOR (07) - HYDRAULIC SYSTEM
7
3
15
18
2
11
8
13
10
5
14
16
9
12
20
4
home
6
19
1
17
FIT
1:1
100%

Артикул

Название

Примечание

Количество

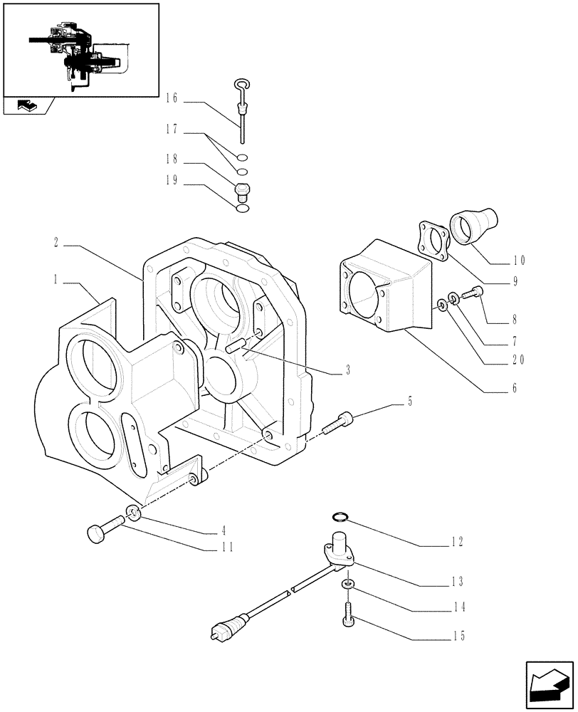
1

87307203

SUPPORT

1шт.

2

87346814

COVER

Incl. 3

1шт.

3

10839710

DOWEL,M10 x 15.00mm

2шт.

4

11190779

BELLEVILLE WASHER,M12 Bolt Size x 24mm OD x 2.8mm Thk

4шт.

5

11391524

SCREW,Hex, M16 x 1.5 x 45mm, Cl 8.8, Full Thd

4шт.

6

5166297

SHIELD

1шт.

7

10569374

LOCK WASHER,M8

4шт.

8

14306424

HEX SOC SCREW,M8 x 1.25 x 25mm, Cl 8.8, Full Thd

4шт.

9

5155332

SEAL PROTECTION,115mm ID x 122mm OD x 29mm Thk

1шт.

10

47125899

COVER,109mm L

1шт.

11

15540624

BOLT,Hex, M12 x 1.25 x 40mm, Cl 8.8, Full Thd

4шт.

12

14457180

O-RING,0.103" Thk x 0.549" ID, -113, Cl 5, 75 Duro

1шт.

13

87564776

SENSOR

PTO Speed, Pick-up Stem 23.5mm long

1шт.

14

11181574

BELLEVILLE WASHER,M5 Bolt Size x 11mm OD x 0.9mm Thk

2шт.

15

10977711

BOLT,Hex, M5 x 14mm, Cl 5.8, Full Thd

M5 x 14

2шт.

16

5169720

DIPSTICK,207mm L

1шт.

17

14452880

O-RING,0.07" Thk x 0.301" ID, -11, Cl 5, 75 Duro

2шт.

18

5169718

PLUG,M22 x 1.5

1шт.

19

10263460

SEAL,22.3mm ID x 28mm OD x 1.5mm Thk

1шт.

20

10730324

WASHER,8.15mm ID x 17mm OD x 2mm Thk

4шт.

Выбрано товаров: 20