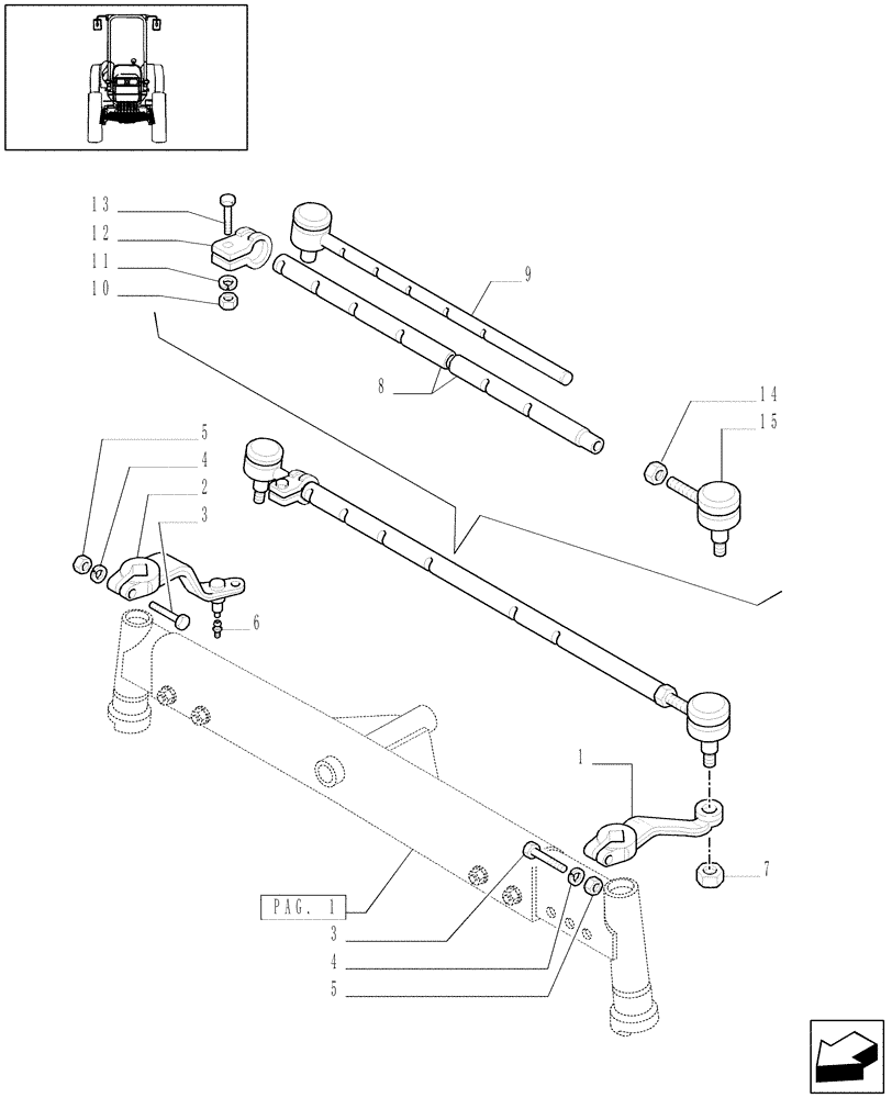
Запчасти Case IH JX1070C (1.41.0[03]) - 2WD FRONT AXLE - STEERING KNUCKLE - HUB (04) - FRONT AXLE & STEERING

Схема запчастей Case IH JX1070C - (1.41.0[03]) - 2WD FRONT AXLE - STEERING KNUCKLE - HUB (04) - FRONT AXLE & STEERING
15
11
2
1
7
5
10
5
3
3
4
6
4
13
pag. 1
14
12
8
9
FIT
1:1
100%

Артикул

Название

Примечание

Количество

1

5166080

STEERING ARM

1шт.

2

5166081

STEERING ARM

1шт.

3

15862131

BOLT,Hex, M14 x 1.5 x 80mm, Cl 10.9

2шт.

4

11194174

BELLEVILLE WASHER,M14 Bolt Size x 27mm OD x 3mm Thk

2шт.

5

12164021

NUT,Thick Hex, M14, 1.50mm Pitch, 11.00mm High, Cl 10, ZND

2шт.

6

87414

LUBE NIPPLE,1/4" - 28

1шт.

7

12575921

NUT,M16 x 1.5, Cl 05

2шт.

8

5166130

RIGID TUBE

L=745

1шт.

9

5166131

TRACK ROD END

1шт.

10

12164714

NUT,M10 x 1.25, Cl 8

1шт.

11

11190574

BELLEVILLE WASHER,M10 Bolt Size x 20mm OD x 2.3mm Thk

1шт.

12

4997704

CLAMP

1шт.

13

9602206

SCREW,Hex, M10 x 1.25 x 50mm, Cl 8.8

1шт.

14

587302

LOCK NUT,Hex, M20 x 1

M20

1шт.

15

5109553

BALL JOINT

M16 x M20 Threads

1шт.

Выбрано товаров: 15