Запчасти Case IH JX1070C (1.74.1/01) - (VAR.838-839) FRONT P.T.O. LIFT - BATTERY MOUNTING (06) - ELECTRICAL SYSTEMS

Схема запчастей Case IH JX1070C - (1.74.1/01) - (VAR.838-839) FRONT P.T.O. LIFT - BATTERY MOUNTING (06) - ELECTRICAL SYSTEMS
5
8
3
6
3
2
7
1
4
3
FIT
1:1
100%

Артикул

Название

Примечание

Количество

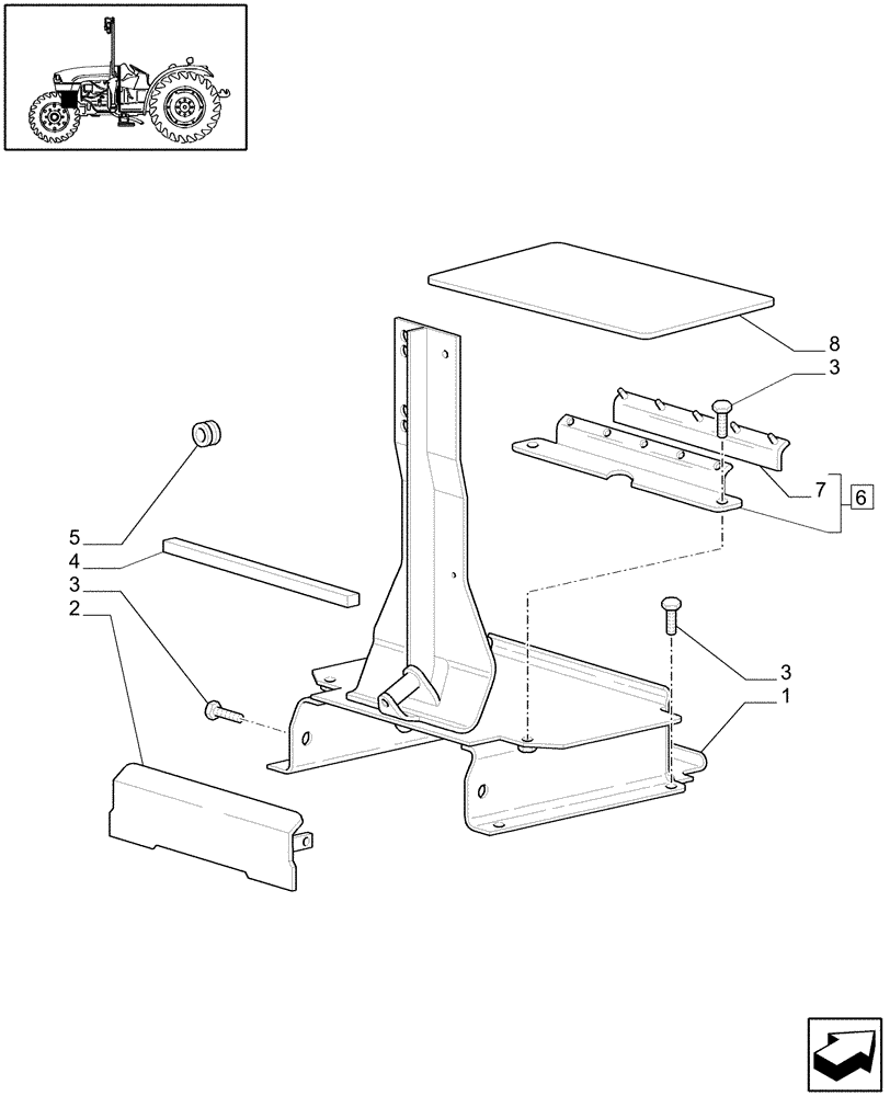
1

47056995

SUPPORT

1шт.

2

47056996

PLATE

1шт.

3

15970521

BOLT,Hex, M10 x 1.25 x 20mm, Cl 8.8, Full Thd

8шт.

4

47057171

SEAL

1шт.

5

10398680

GROMMET,25mm ID x 33mm GRV ø x 42mm OD x 15mm Thk

25x5

1шт.

6

47057023

CROSSRAIL

, Serial Range: -HJE035331

1шт.

6

5174462

CROSSRAIL

, Start Serial: HJE035332

1шт.

7

5174457

PAD

1шт.

8

599204

PLATE

1шт.

Выбрано товаров: 9