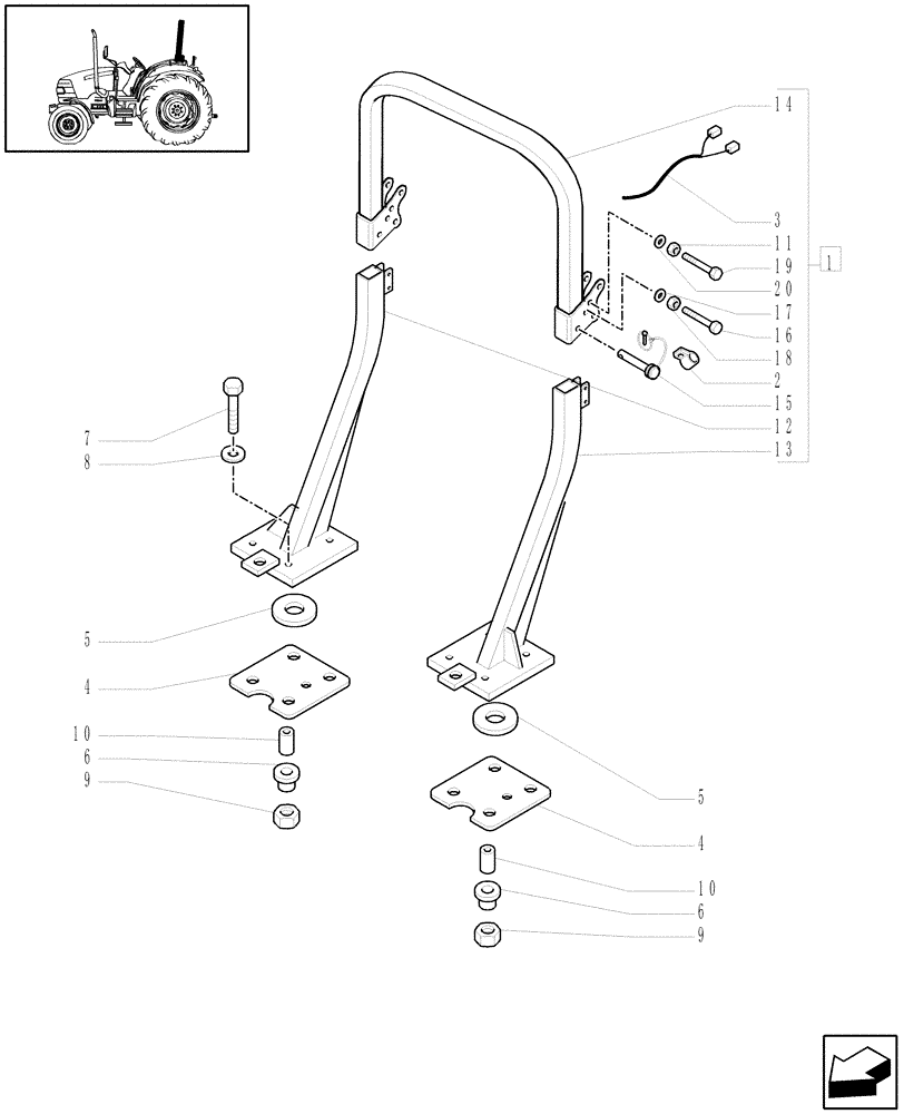
Запчасти Case IH JX60 (1.92.89/02[01A]) - (VAR.330874) COLLAPSABLE ROPS - D5973 (10) - OPERATORS PLATFORM/CAB

Схема запчастей Case IH JX60 - (1.92.89/02[01A]) - (VAR.330874) COLLAPSABLE ROPS - D5973 (10) - OPERATORS PLATFORM/CAB
12
2
10
6
9
5
14
4
1
17
16
3
19
8
7
20
13
15
6
4
10
9
18
11
5
FIT
1:1
100%

Артикул

Название

Примечание

Количество

1

5098770

U-FRAME

1шт.

2

5097986

CLAMP

2шт.

3

5091685

CABLE

1шт.

4

5098569

PLATE

2шт.

5

5093308

WASHER,18.5mm ID x 60mm OD x 8mm Thk

6шт.

6

5093307

PLUG

6шт.

7

15986024

BOLT,Hex, M18 x 1.5 x 140mm, Cl 8.8

M18x140

6шт.

8

12601874

SPRING WASHER,19mm ID x 34mm OD x 1.6mm Thk

D=18

6шт.

9

10721021

NUT,M18 x 1.5, Cl 10

M18x1.5, Cl10

6шт.

10

5093306

SPACER,18.5mm ID x 26.5mm OD x 46mm L

6шт.

11

16104111

NUT,Prevailing Torque, M8, 1.25 Pitch, 10.6mm High, Cl 08, ZND

2шт.

12

5098771

STANCHION

RH

1шт.

13

5098772

STANCHION

LH

1шт.

14

5099087

U-FRAME

1шт.

15

5095360

PIN,17.8mm OD x 103mm L

2шт.

16

15985234

SCREW,M18 x 1.5 x 100mm

2шт.

17

10520321

WASHER,18.4mm ID x 32mm OD x 4mm Thk

2шт.

18

12575021

NUT,M18 x 1.5, Cl 10

2шт.

19

16233921

SCREW,Hex, M8 x 1.25 x 90mm

2шт.

20

12646704

WASHER,8.15mm ID x 20mm OD x 2mm Thk

2шт.

Выбрано товаров: 20