Запчасти Case IH JX60 (0.06.0/04[02]) - (VAR.319-747) TTF MOTOR TIER2 - CYLINDER HEAD ASSEMBLY (01) - ENGINE

Схема запчастей Case IH JX60 - (0.06.0/04[02]) - (VAR.319-747) TTF MOTOR TIER2 - CYLINDER HEAD ASSEMBLY (01) - ENGINE
21
12
13
1
1
15
0.12.0/03
1
14
11
18
7
17
1
6
5
1
23
1
1
16
19
1
1
20
1
3
10
18
22
2
9
1
8
1
4
FIT
1:1
100%

Артикул

Название

Примечание

Количество

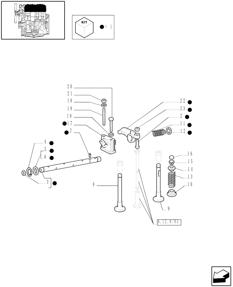
1

4768746

SHAFT

1шт.

2

4699783

ADJUSTMENT SCREW

6шт.

3

14328301

PLUG,M12, Tapered

2шт.

4

11066676

SNAP RING,M18, Ext

2шт.

5

4570798

WASHER

0.7 mm

4шт.

6

4570799

WASHER

0.5 mm

4шт.

7

4846851

SCREW,M6 x 25mm

1шт.

8

5088012

STD EXHAUST VALVE

STD ENGINE EXHAUST VALVE

3шт.

9

5088011

STD INLET VALVE

STD ENGINE INLET VALVE

3шт.

10

4817424

CUP

6шт.

11

4601296

SPRING,Extension, 22.1mm OD x 59.5mm L

2шт.

12

4639661

THRUST WASHER,18mm ID x 24mm OD x 1mm

4шт.

13

5088013

VALVE SPRING

6шт.

14

4780558

CUP

6шт.

15

14196670

ROCKER ARM COTTER

12шт.

16

4838680

CAP

6шт.

17

4601295

SUPPORT

3шт.

18

11198079

BELLEVILLE WASHER,M8 Bolt Size x 15mm OD x 1.8mm Thk

6шт.

19

98458149

STUD,M8 x 88mm

M8 x 1.25 x 76

3шт.

20

16044521

SCREW,Hex, M8 x 65mm, Cl 8.8

3шт.

21

16100811

NUT,Hex, M8, 6.80mm, Cl 8, ZND

3шт.

22

4848973

ROCKER ARM

6шт.

23

4338920

NUT

6шт.

Выбрано товаров: 23