Качественные детали и логистика
Оригинальные и аналоговые запчасти с доставкой по России, Казахстану и Беларуси
©2022 PartSell ООО "Система" ИНН 2463123282 ОГРН 1212400004838
Центральный офис: г. Красноярск, Академика Киренского, д.87, пом.4
Телефон: 8 (800) 777-65-74 Email: zakaz@partsell.ru
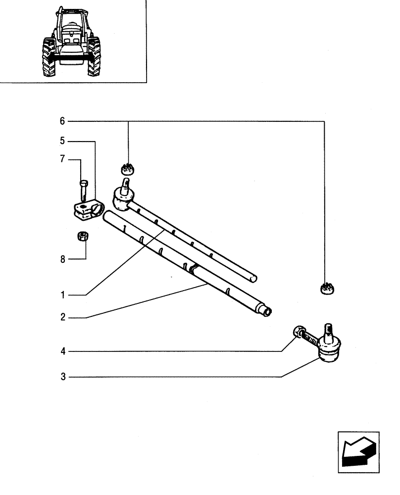
(1.63.4/ A) - STEERING TIE-ROD - TIE-ROD AND ARTICULATED HEAD
№
Артикул
Название
Примечание
Количество
1
5085085
BALL JOINT
1шт.
2
5085084
STEERING TIE-ROD
3
5085076
4
5085078
NUT
5
5085086
CLAMP
6
12575821
LOCK NUT,M14 x 1.5, Cl 05
2шт.
7
16160121
BOLT,Hex, M10 x 1.5 x 50mm, Cl 8.8, Full Thd
8
12577211
LOCK NUT,M10 x 1.5mm Pitch, 12.30mm High, Cl 8, ZND
Выбрано товаров: 0