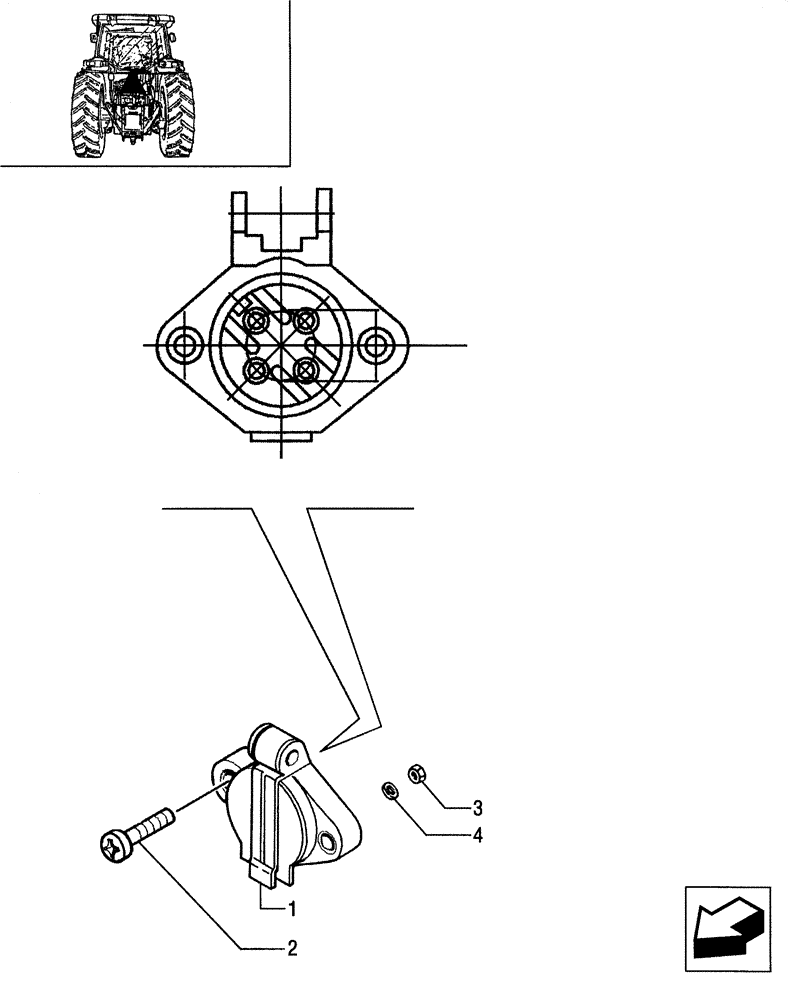
Запчасти Case IH JX65 (1.75.4/01) - (VAR.394) POWER OUTLET, ISO STANDARD 40A 4-PINS (06) - ELECTRICAL SYSTEMS

Схема запчастей Case IH JX65 - (1.75.4/01) - (VAR.394) POWER OUTLET, ISO STANDARD 40A 4-PINS (06) - ELECTRICAL SYSTEMS
4
3
2
1
FIT
1:1
100%

Артикул

Название

Примечание

Количество

1

83982634

POWER SOCKET

(ISO) Trailer

1шт.

2

13272621

SCREW,Cross Pan Hd, M4 x 25mm, Cl 8.8

2шт.

3

10794014

NUT,M4, Cl 8

2шт.

4

89824840

WASHER,4.3mm ID x 9mm OD x 0.8mm Thk

2шт.

Выбрано товаров: 4