Качественные детали и логистика
Оригинальные и аналоговые запчасти с доставкой по России, Казахстану и Беларуси
©2022 PartSell ООО "Система" ИНН 2463123282 ОГРН 1212400004838
Центральный офис: г. Красноярск, Академика Киренского, д.87, пом.4
Телефон: 8 (800) 777-65-74 Email: zakaz@partsell.ru
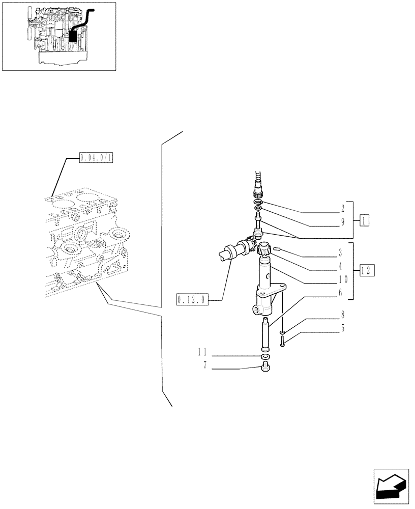
(0.42.0/01) - TACHOMETER DRIVE
№
Артикул
Название
Примечание
Количество
1
500303538
ADAPTER
Assy
1шт.
2
13397476
SNAP RING,M10.8, Int
3
4605293
PIN
4
4599726
DRIVEN GEAR
5
16043624
SCREW,Hex, M8 x 1.25 x 25mm, Cl 8.8, Full Thd
2шт.
6
4613297
SPINDLE
7
10278301
PLUG,M28 x 1.5 x 11, Brass
8
11193874
BELLEVILLE WASHER,M8 Bolt Size x 16mm OD x 1.4mm Thk
9
40102813
GASKET
M6 x 15 x 4
10
4807305
SUPPORT
11
10296260
SEAL,28.4mm ID x 36mm OD x 1.5mm Thk
12
4807763
Выбрано товаров: 0