Запчасти Case IH JX75 (1.80.1[05]) - POWER TAKE-OFF - SHAFT, COVER AND GUARD (07) - HYDRAULIC SYSTEM

Схема запчастей Case IH JX75 - (1.80.1[05]) - POWER TAKE-OFF - SHAFT, COVER AND GUARD (07) - HYDRAULIC SYSTEM
30
20
15
29
2
17
25
26
13
10
3
9
16
6
1
14
5
4
19
23
28
8
11
7
22
21
19
27
18
24
12
FIT
1:1
100%

Артикул

Название

Примечание

Количество

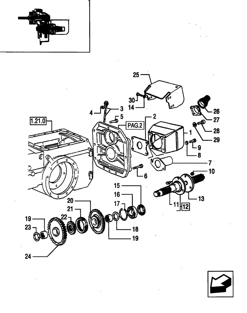
1

5104469

SHIELD

1шт.

2

4997320

GUARD

1шт.

3

47134050

DIPSTICK

1шт.

4

10263460

SEAL,22.3mm ID x 28mm OD x 1.5mm Thk

1шт.

5

11391521

SCREW,Hex, M16 x 1.5 x 45mm, Cl 8.8, Full Thd

4шт.

6

15981521

BOLT,Hex, M16 x 1.5 x 90mm, Cl 8.8

6шт.

7

5102349

GUARD

1шт.

8

10571779

LOCK WASHER,Helical Spring, 8.10mm ID x 14.80mm OD x 2.00mm, ZNM

4шт.

9

16043421

BOLT,Hex, M8 x 1.25 x 20mm, Cl 8.8, Full Thd

4шт.

10

16105025

LOCK NUT,M12 x 1.25, Cl 10

3шт.

11

44012300

PIN,14mm OD x 37mm L

3шт.

12

5117501

SHAFT,181mm L, 14T

1шт.

13

5185602

SHAFT,540 rpm, 6 Teeth

1шт.

14

10516674

LOCK WASHER,M8

4шт.

15

5119203

SEAL,55mm ID x 80mm OD x 10mm Thk

1шт.

16

20943310

BALL BEARING,40mm ID x 90mm OD x 23mm W

40 x 90 x 23 mm

3шт.

17

11062476

SNAP RING,M90, Int

1шт.

18

5109656

THRUST WASHER,39.25mm ID x 64mm OD x 4mm Thk

1шт.

19

5101537

BUSHING,39.2mm ID x 50mm OD x 29.04mm L

2шт.

20

5109736

DRIVEN GEAR

1000 RPM

1шт.

21

5129513

SYNCHRONIZER,24T

1шт.

22

5129512

SLEEVE,24T, 14T

1шт.

23

5122797

THRUST WASHER,35mm ID x 62mm OD x 6mm Thk

1шт.

24

5109733

DRIVEN GEAR

540 RPM

1шт.

25

5171105

GUARD

1шт.

26

5171520

SHIELD,132mm L

1шт.

27

5155332

SEAL PROTECTION,115mm ID x 122mm OD x 29mm Thk

1шт.

28

14306424

HEX SOC SCREW,M8 x 1.25 x 25mm, Cl 8.8, Full Thd

4шт.

29

10569379

LOCK WASHER

M8

4шт.

30

16043321

BOLT,Hex, M8 x 1.25 x 18mm, Cl 8.8, Full Thd

4шт.

Выбрано товаров: 30