Качественные детали и логистика
Оригинальные и аналоговые запчасти с доставкой по России, Казахстану и Беларуси
©2022 PartSell ООО "Система" ИНН 2463123282 ОГРН 1212400004838
Центральный офис: г. Красноярск, Академика Киренского, д.87, пом.4
Телефон: 8 (800) 777-65-74 Email: zakaz@partsell.ru
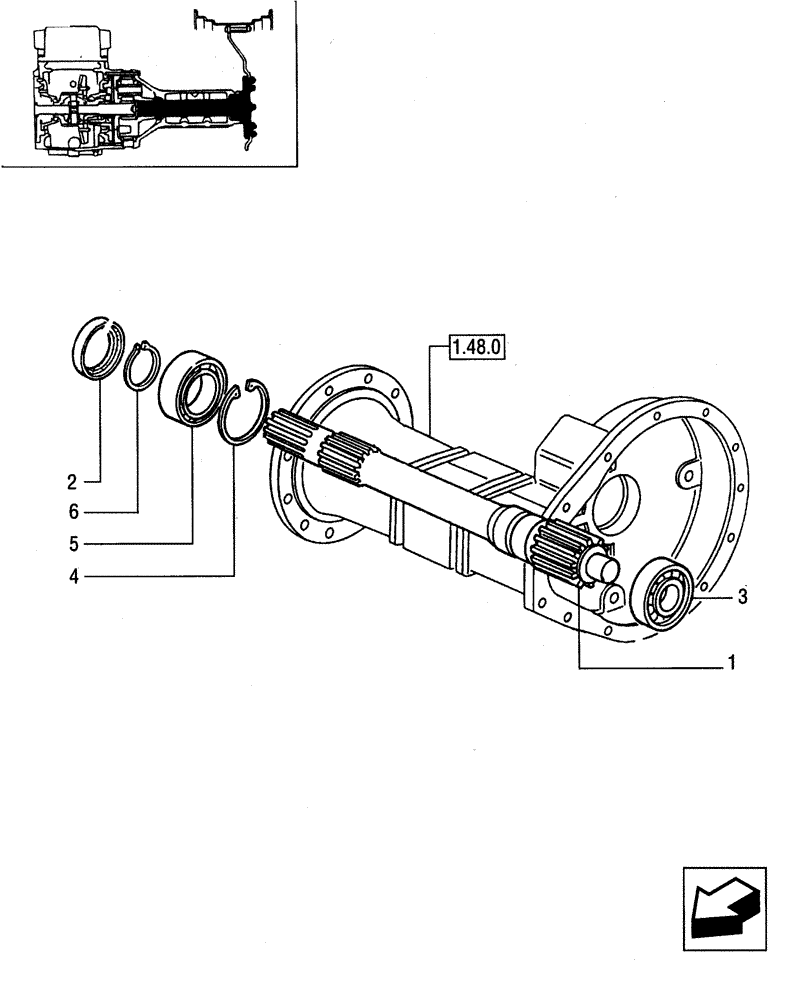
(1.48.1/01[01]) - (VAR.450) REINFORCED SIDE REDUCTION GEARS
№
Артикул
Название
Примечание
Количество
1
5161808
DRIVEN SPROCKET
RH
1шт.
5161801
LH
2
5119215
SEAL,50mm ID x 80mm OD x 8mm Thk
4шт.
3
5140199
BEARING, ROLLER, CYL,35mm ID x 80mm OD x 31mm W
BEARING ASSY
2шт.
4
11075476
SNAP RING,M110, Int
5
20229990
BALL BEARING,50mm ID x 110mm OD x 27mm W
50 x 110 x 27 mm
6
11069376
SNAP RING,M50, Ext
Выбрано товаров: 0