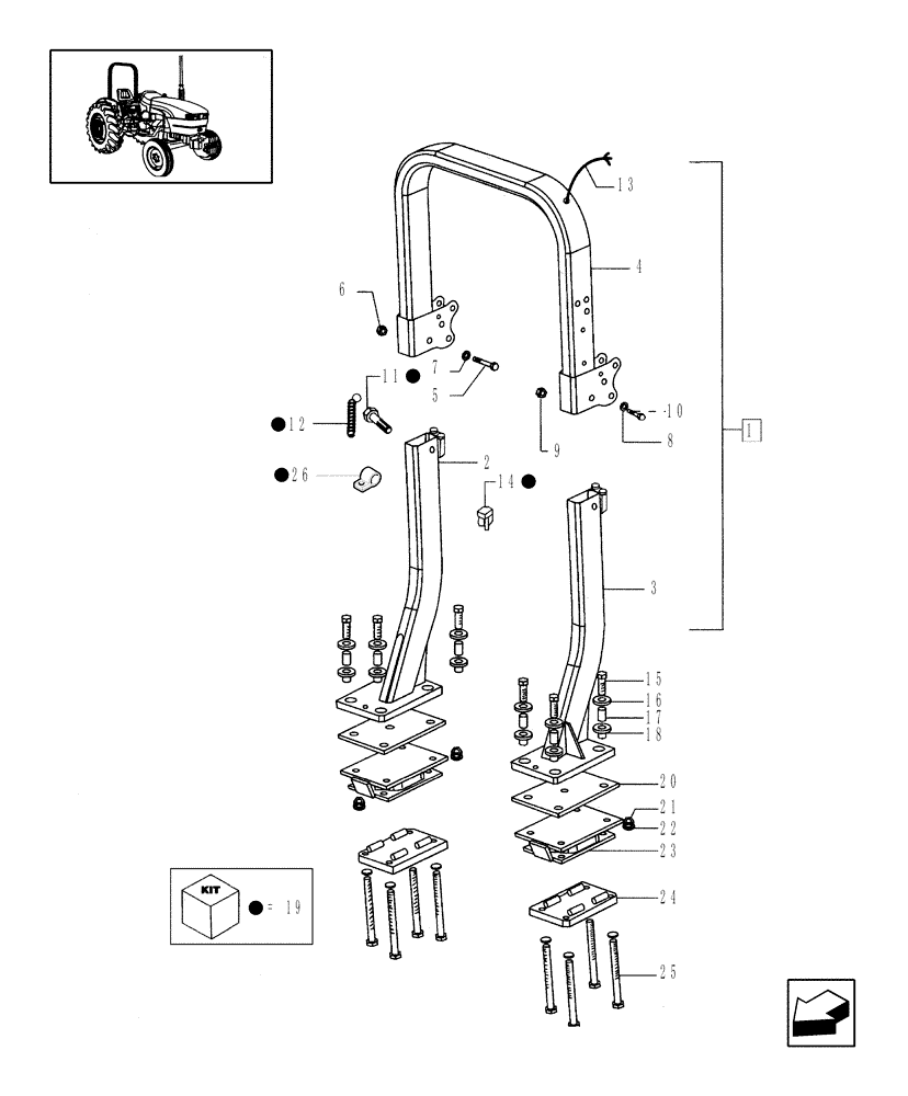
Запчасти Case IH JX80 (1.87.7/01[01]) - ROPS - FRAME AND COVERING - FOR HIGH CLEARANCE VERSION (08) - SHEET METAL

Схема запчастей Case IH JX80 - (1.87.7/01[01]) - ROPS - FRAME AND COVERING - FOR HIGH CLEARANCE VERSION (08) - SHEET METAL
12
4
24
3
15
2
20
7
25
19
5
19
21
17
1
26
19
23
10
14
19
11
6
18
19
16
9
8
22
13
FIT
1:1
100%

Артикул

Название

Примечание

Количество

1

5094475

ROPS

1шт.

2

5094533

PILLAR

1шт.

3

5094532

PILLAR

1шт.

4

5093618

U-FRAME

1шт.

5

15985434

BOLT,M18 x 1.5 x 110mm

M18x1.5x110

2шт.

6

12575021

NUT,M18 x 1.5, Cl 10

2шт.

7

10520321

WASHER,18.4mm ID x 32mm OD x 4mm Thk

2шт.

8

12646701

WASHER,8.15mm ID x 20mm OD x 2mm Thk

2шт.

9

16104111

NUT,Prevailing Torque, M8, 1.25 Pitch, 10.6mm High, Cl 08, ZND

2шт.

10

16234021

SCREW,M8 x 100mm

M8x100

2шт.

11

5095189

PIN

1шт.

12

5095193

CABLE

1шт.

13

5091685

CABLE

1шт.

14

5095192

PIN

1шт.

15

15984834

SCREW,Hex, M18 x 1.5 x 80mm, Cl 10.9

8шт.

16

5093308

WASHER,18.5mm ID x 60mm OD x 8mm Thk

8шт.

17

5093306

SPACER,18.5mm ID x 26.5mm OD x 46mm L

8шт.

18

5093307

PLUG

8шт.

19

5095188

PIN

2шт.

20

5094516

RUBBER SEAL

2шт.

21

10721021

NUT,M18 x 1.5, Cl 10

8шт.

22

10572279

WASHER,M18

8шт.

23

5094477

TENSIONER

2шт.

24

5094646

TENSIONER

2шт.

25

5094564

BOLT

8шт.

26

5097986

CLAMP

2шт.

Выбрано товаров: 26