Качественные детали и логистика
Оригинальные и аналоговые запчасти с доставкой по России, Казахстану и Беларуси
©2022 PartSell ООО "Система" ИНН 2463123282 ОГРН 1212400004838
Центральный офис: г. Красноярск, Академика Киренского, д.87, пом.4
Телефон: 8 (800) 777-65-74 Email: zakaz@partsell.ru
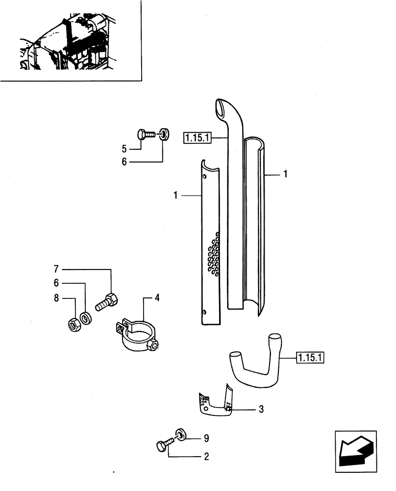
(1.15.1/01) - (VAR.134) VERTICAL MUFFLER AND GUARDS
№
Артикул
Название
Примечание
Количество
1
5091586
GUARD
1100 mm
2шт.
2
16042921
BOLT,Hex, M8 x 10mm, Cl 8.8, Full Thd
3
5093802
1шт.
4
5180024
COLLAR
5
10902021
BOLT,Hex, M6 x 12mm, Cl 8.8
4шт.
6
14496401
WASHER,M6.4 x 12.00mm x 1.60mm
12шт.
7
10902321
SCREW,Hex, M6 x 18mm, Cl 8.8, Full Thd
8
15896211
NUT,M6, Cl 8
9
10519601
WASHER,8.15mm ID x 17mm OD x 2mm Thk
Выбрано товаров: 0