Запчасти Case IH JX85 (1.19.1/04) - (VAR.199) AIR FILTER - DUST EJECTOR - FOR STRADDLE VERSION (02) - ENGINE EQUIPMENT

Схема запчастей Case IH JX85 - (1.19.1/04) - (VAR.199) AIR FILTER - DUST EJECTOR - FOR STRADDLE VERSION (02) - ENGINE EQUIPMENT
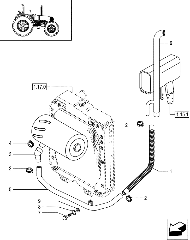
9
4
6
5
7
2
3
1.15.1
1.17.0
8
2
1
2
FIT
1:1
100%

Артикул

Название

Примечание

Количество

1

5097076

HOSE,32mm ID x 690mm L

1шт.

2

5085778

CLAMP

D=32 x 51

3шт.

3

5097077

INTAKE AIR HOSE,32.00 mm ID, 52.00 mm ID x 181.50 mm

1шт.

4

5085780

CLAMP

D=44 x 64

1шт.

5

5097202

HOSE

1шт.

6

5091485

EXHAUST SYSTEM PIPE

1шт.

7

10902021

BOLT,Hex, M6 x 12mm, Cl 8.8

1шт.

8

10571579

LOCK WASHER,M6

1шт.

9

12644401

WASHER,6.15mm ID x 15mm OD x 1mm Thk

1шт.

Выбрано товаров: 9