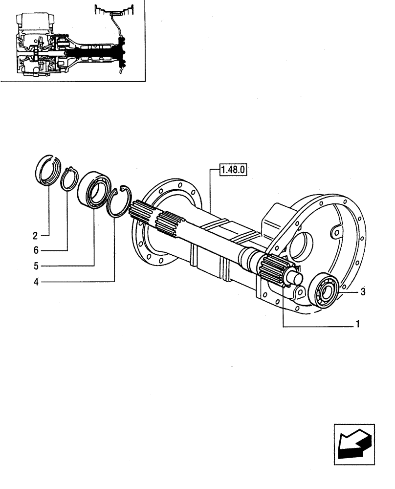
Запчасти Case IH JX85 (1.48.1[01]) - SIDE REDUCER GEARINGS - PINION AND BEARINGS (05) - REAR AXLE

Схема запчастей Case IH JX85 - (1.48.1[01]) - SIDE REDUCER GEARINGS - PINION AND BEARINGS (05) - REAR AXLE
1
2
6
3
4
5
FIT
1:1
100%

Артикул

Название

Примечание

Количество

1

5089365

HALF SHAFT

JX95, RH

1шт.

1

5119240

HALF SHAFT

JX55 - JX65, RH

1шт.

1

5141650

HALF SHAFT

JX75 - JX85, RH

1шт.

1

5089366

HALF SHAFT

JX95, LH

1шт.

1

5119241

HALF SHAFT

JX55 - JX65, LH

1шт.

1

5141651

HALF SHAFT

JX75 - JX85, LH

1шт.

2

5119215

SEAL,50mm ID x 80mm OD x 8mm Thk

4шт.

2

5119249

SEAL,45mm ID x 72mm OD x 8mm Thk

JX55 - JX65

4шт.

3

5125824

ROLLER BEARING,35mm ID x 72mm OD x 23mm W

JX55 - JX65

2шт.

3

5140199

BEARING, ROLLER, CYL,35mm ID x 80mm OD x 31mm W

BEARING ASSY

2шт.

4

11062976

SNAP RING,Int, M100 x 3

JX55 - JX65

2шт.

4

11075476

SNAP RING,M110, Int

2шт.

5

20033750

BALL BEARING,45 mm ID x 100 mm OD x 25 mm

45 x 100 x 25, JX55 - JX65

2шт.

5

20229990

BALL BEARING,50mm ID x 110mm OD x 27mm W

50 x 110 x 27 mm

2шт.

6

11069076

SNAP RING,M45, Ext

JX55 - JX65

2шт.

6

11069376

SNAP RING,M50, Ext

2шт.

Выбрано товаров: 16