Запчасти Case IH JX90 (1.21.0[02A]) - TRACTOR BODY - CAPS ET COVERS - D5712 (03) - TRANSMISSION

Схема запчастей Case IH JX90 - (1.21.0[02A]) - TRACTOR BODY - CAPS ET COVERS - D5712 (03) - TRANSMISSION
9
6
1
19
8
18
4
13
17
12
11
14
10
5
20
3
15
2
16
7
21
FIT
1:1
100%

Артикул

Название

Примечание

Количество

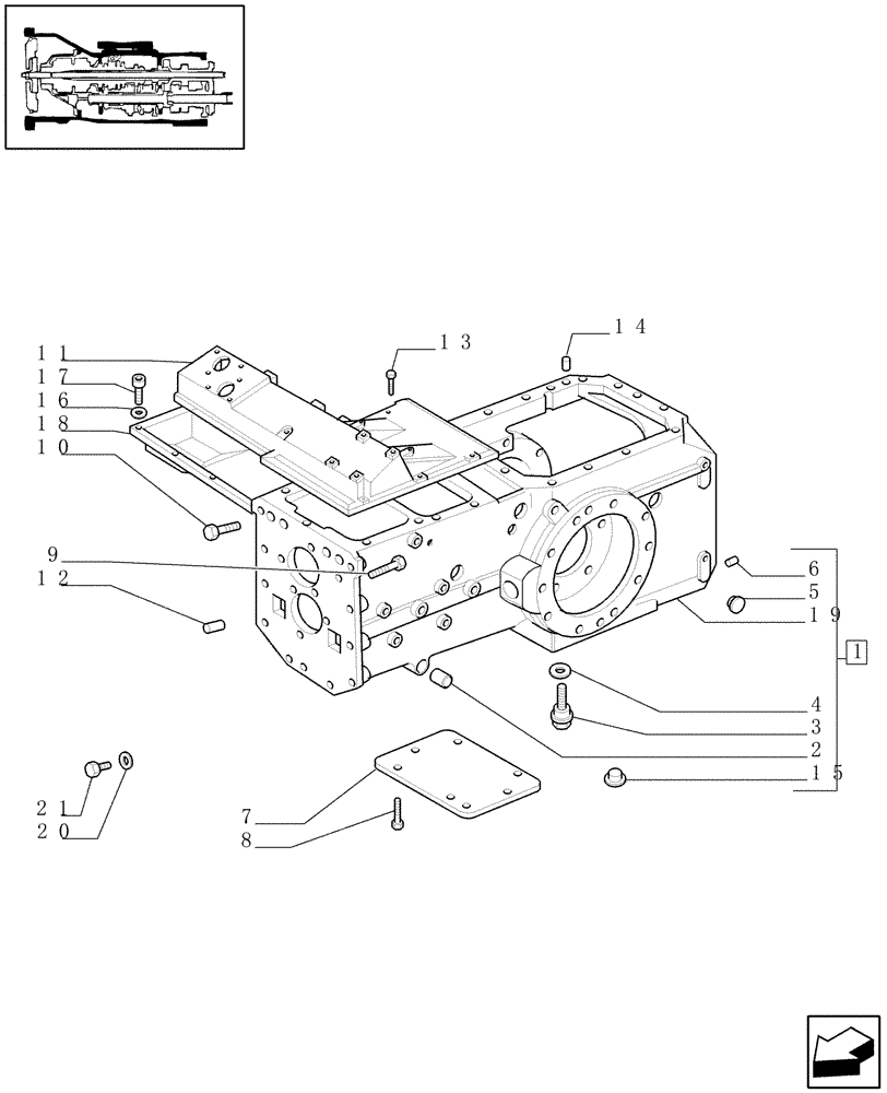
1

87626843

HOUSING

, Serial Range: -C6263

1шт.

1

84153148

HOUSING

, Start Serial: D6263

1шт.

2

5118942

BUSHING,30.05mm ID x 34mm OD x 30mm L

1шт.

3

5118991

PLUG,M22 x 1.5

1шт.

4

10263460

SEAL,22.3mm ID x 28mm OD x 1.5mm Thk

3шт.

5

10159004

PLUG,M25, Tapered

2шт.

6

10839810

DOWEL,12mm OD x 18mm L

2шт.

7

5195411

COVER

1шт.

8

15540421

SCREW,Hex, M12 x 1.25 x 30mm, Cl 8.8, Full Thd

6шт.

9

15540721

SCREW,Hex, M12 x 1.25 x 45mm, Cl 8.8, Full Thd

1шт.

10

15540621

SCREW,Hex, M12 x 1.25 x 40mm, Cl 8.8, Full Thd

13шт.

11

5089402

COVER

1шт.

12

5125535

DOWEL

2шт.

13

15970921

SCREW,Hex, M10 x 1.25 x 35mm, Cl 8.8, Full Thd

8шт.

14

5119529

DOWEL,15mm OD x 22mm L

2шт.

15

10275501

PLUG,Pipe, Hex Skt, M12 x 1.25 x 11mm, Cl 4.8

2шт.

16

11197779

BELLEVILLE WASHER,M6 Bolt Size x 12mm OD x 1.2mm Thk

6шт.

17

14305111

SCREW,Cheese Hd, M6 x 12mm

6шт.

18

5089709

GUARD

1шт.

19

87626845

HOUSING

, Serial Range: -C6263

1шт.

19

84153147

HOUSING

, Start Serial: D6263

1шт.

Выбрано товаров: 21