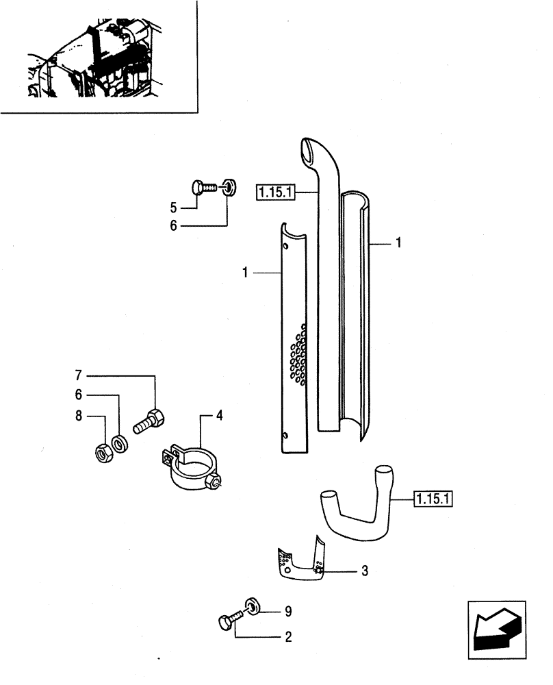
Запчасти Case IH JX90 (1.15.1/01) - (VAR.134) VERTICAL MUFFLER AND GUARDS (02) - ENGINE EQUIPMENT

Схема запчастей Case IH JX90 - (1.15.1/01) - (VAR.134) VERTICAL MUFFLER AND GUARDS (02) - ENGINE EQUIPMENT
1.15.1
2
5
1.15.1
1
3
6
1
4
9
6
8
7
FIT
1:1
100%

Артикул

Название

Примечание

Количество

1

5091586

GUARD

1100 mm

2шт.

2

16042921

BOLT,Hex, M8 x 10mm, Cl 8.8, Full Thd

2шт.

3

5093802

GUARD

1шт.

4

5180024

COLLAR

2шт.

5

10902021

BOLT,Hex, M6 x 12mm, Cl 8.8

4шт.

6

14496401

WASHER,M6.4 x 12.00mm x 1.60mm

12шт.

7

10902321

SCREW,Hex, M6 x 18mm, Cl 8.8, Full Thd

2шт.

8

15896211

NUT,M6, Cl 8

2шт.

9

10519601

WASHER,8.15mm ID x 17mm OD x 2mm Thk

2шт.

Выбрано товаров: 9