Запчасти Case IH JX90 (1.41.0[05]) - 2WD FRONT AXLE - STEERING TIE-ROD (04) - FRONT AXLE & STEERING

Схема запчастей Case IH JX90 - (1.41.0[05]) - 2WD FRONT AXLE - STEERING TIE-ROD (04) - FRONT AXLE & STEERING
4
1
6
5
9
8
2
7
3
FIT
1:1
100%

Артикул

Название

Примечание

Количество

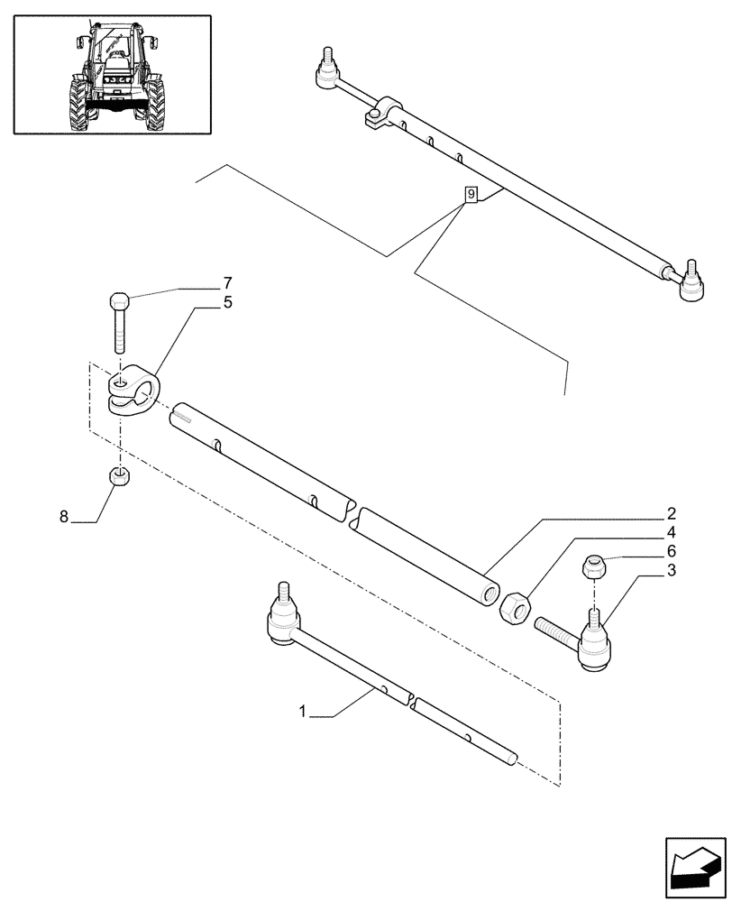
1

5085085

BALL JOINT

1шт.

2

NSS

NOT SOLD SEPARAT

Steering tie rod Incl. in 9

1шт.

3

5085076

BALL JOINT

1шт.

4

5085078

NUT

1шт.

5

5085086

CLAMP

1шт.

6

12575821

LOCK NUT,M14 x 1.5, Cl 05

2шт.

7

16160121

BOLT,Hex, M10 x 1.5 x 50mm, Cl 8.8, Full Thd

1шт.

8

12577211

LOCK NUT,M10 x 1.5mm Pitch, 12.30mm High, Cl 8, ZND

1шт.

9

5085083

TIE-ROD

ASSY, Incl. 1-8

1шт.

Выбрано товаров: 9