Запчасти Case IH JX95 (0.32.0/01) - WATER PUMP - TIER 1 ENGINE (01) - ENGINE

Схема запчастей Case IH JX95 - (0.32.0/01) - WATER PUMP - TIER 1 ENGINE (01) - ENGINE
FIT
1:1
100%

Артикул

Название

Примечание

Количество

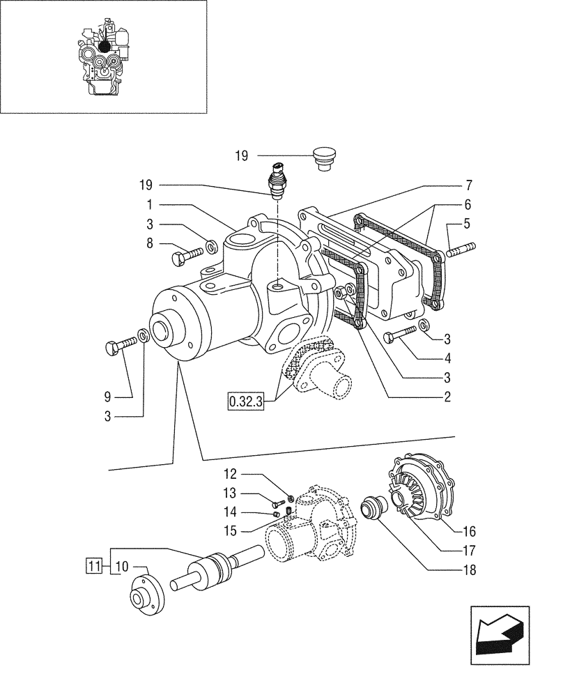
1

504065104

WATER PUMP

1шт.

504065104R

REMAN-WATER PUMP

JX95 TIER 1 (1/06-)

1шт.

504065104C

CORE-WATER PUMP

Return Number

1шт.

2

12164711

NUT,M10 x 1.25, Cl 8

1шт.

3

11198379

SPRING WASHER,10.5mm ID x 20mm OD x 2.6mm Thk

8шт.

4

11234721

BOLT,Hex, M10 x 1.25 x 45, 8.8

3шт.

5

13449910

STUD,M10 x 1.25 x 15mm x 40mm

1шт.

6

98400776

GASKET,0.8mm Thk

2шт.

7

4840211

SUPPORT

1шт.

8

84203262

BOLT,M10 x 1.25 x 55mm

M10x1.25x55

1шт.

8

15888721

BOLT,Hex, M10 x 1.25 x 55mm, Cl 8.8

2шт.

9

10923621

SCREW,M10 x 1.25 x 35mm

1шт.

10

4655011

SHAFT

1шт.

11

4829218

SHAFT

1шт.

12

11193874

BELLEVILLE WASHER,M8 Bolt Size x 16mm OD x 1.4mm Thk

2шт.

13

16043424

SCREW,Hex, M8 x 1.25 x 20mm, Cl 8.8, Full Thd

2шт.

14

16997411

PLUG

M16 x 1.5

2шт.

15

13739811

SET SCREW,Hex Skt, M8 x 16mm, Cone Pt

1шт.

16

98400794

GASKET,0.5mm Thk

1шт.

17

4813442

IMPELLER

1шт.

18

7302756

GASKET

1шт.

19

14325011

PLUG

1шт.

19

504062682

SENDER UNIT

JX95

1шт.

Выбрано товаров: 23