Запчасти Case IH JX95 (1.21.0[01]) - TRACTOR BODY - SPACER, PIPE AND COLLAR (03) - TRANSMISSION

Схема запчастей Case IH JX95 - (1.21.0[01]) - TRACTOR BODY - SPACER, PIPE AND COLLAR (03) - TRANSMISSION
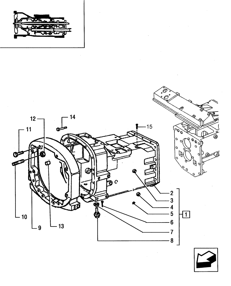
11
1
13
12
7
2
6
3
15
4
8
14
10
5
9
FIT
1:1
100%

Артикул

Название

Примечание

Количество

1

5090542

HOUSING

JX95

1шт.

1

5091777

HOUSING

JX60, JX70, JX80, JX90

1шт.

2

5089253

HOUSING

JX95

1шт.

2

5091776

HOUSING

JX60, JX70, JX80, JX90

1шт.

3

5133142

BUSHING,24.05mm ID x 27mm OD x 30mm L

2шт.

4

590353

PLUG,15mm OD x 10mm High, Plastic

10шт.

5

4998275

PLUG,8,8mm ID x 10,8mm OD x 10.0mm L

2шт.

6

10798201

COTTER PIN,M6.3 x 32

1шт.

7

10263460

SEAL,22.3mm ID x 28mm OD x 1.5mm Thk

3шт.

8

5118991

PLUG,M22 x 1.5

1шт.

9

5166241

SPACER

JX95

1шт.

10

13972324

STUD

M12 x 1.25 x 125, JX95

2шт.

11

5166320

BOLT,Hex, M12 x 1.25 x 105mm, Cl 8.8

M12 x 1.25 x 105; JX95

10шт.

12

16101511

NUT,M12 x 1.25, Cl 8

JX95

2шт.

13

4658441

DOWEL,10mm OD x 20mm L

JX95

2шт.

14

15540621

SCREW,Hex, M12 x 1.25 x 40mm, Cl 8.8, Full Thd

10шт.

15

13305311

SCREW,Pozidriv Flat Hd, Csk, M10 x 20mm, Cl 5.8

1шт.

Выбрано товаров: 17