Запчасти Case IH JX95 (1.33.0/01) - TRANSMISSION BOXES AND COVERS - FOR HIGH CLEARANCE VERSION (04) - FRONT AXLE & STEERING

Схема запчастей Case IH JX95 - (1.33.0/01) - TRANSMISSION BOXES AND COVERS - FOR HIGH CLEARANCE VERSION (04) - FRONT AXLE & STEERING
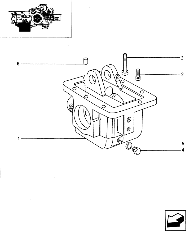
4
6
2
3
1
5
FIT
1:1
100%

Артикул

Название

Примечание

Количество

1

5150363

HOUSING

1шт.

2

15540521

SCREW,Hex, M12 x 1.25 x 35mm, Cl 8.8, Full Thd

5шт.

3

514-866

BOLT,Hex, M12 x 1.25 x 120mm, Cl 8.8, Full Thd

1шт.

4

10305171

PLUG,M22 x 1.5 x 21

1шт.

5

10263460

SEAL,22.3mm ID x 28mm OD x 1.5mm Thk

1шт.

6

10839810

DOWEL,12mm OD x 18mm L

2шт.

Выбрано товаров: 6