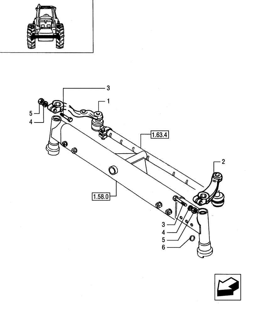
Запчасти Case IH JX95 (1.63.3) - STEERING TIE-ROD - LEVERS (04) - FRONT AXLE & STEERING

Схема запчастей Case IH JX95 - (1.63.3) - STEERING TIE-ROD - LEVERS (04) - FRONT AXLE & STEERING
2
1
1.63.4
3
1.58.0
3
6
5
5
4
4
FIT
1:1
100%

Артикул

Название

Примечание

Количество

1

5110378

STEERING ARM

RH

1шт.

2

5110377

STEERING ARM

LH

1шт.

3

15977921

SCREW,Hex, M14 x 1.5 x 90mm, Cl 8.8

2шт.

4

10572079

LOCK WASHER,M14

2шт.

5

12164021

NUT,Thick Hex, M14, 1.50mm Pitch, 11.00mm High, Cl 10, ZND

2шт.

6

585876

WASHER,15mm ID x 30mm OD x 8mm Thk

1шт.

Выбрано товаров: 0