Запчасти Case IH JX95 (0.04.2/01[02]) - OIL PAN (01) - ENGINE

Схема запчастей Case IH JX95 - (0.04.2/01[02]) - OIL PAN (01) - ENGINE
6
3
9
10
7
4
6
2
5
6
8
1
pag. 1
pag. 1
FIT
1:1
100%

Артикул

Название

Примечание

Количество

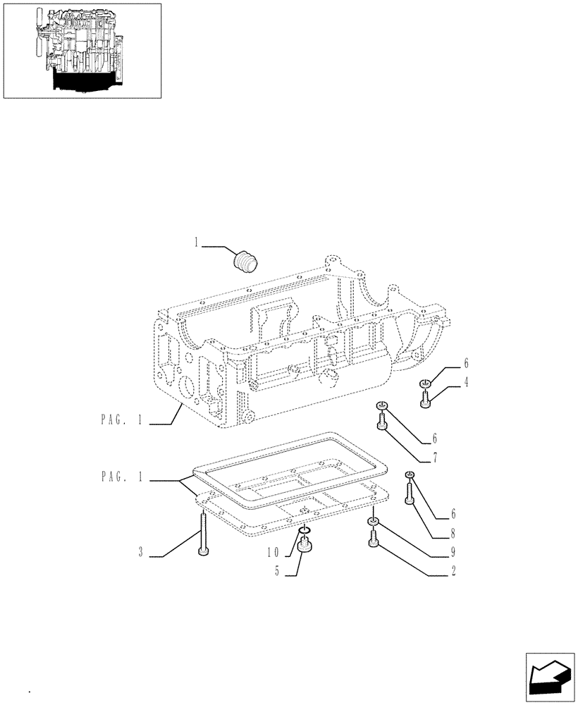
1

504142590

PLUG

M5X16

1шт.

2

16043324

BOLT,Hex, M8 x 1.25 x 18mm, Cl 8.8, Full Thd

18шт.

3

99442242

BOLT,M21.8

3шт.

4

11307031

BOLT,Hex, M10 x 1.25 x 40mm, Cl 10.9

2шт.

5

2852318

PLUG,Rd Hd, Int Hex, M22 x 1.5 x 16mm, ORB

M22 x 1.5

1шт.

6

11198374

BELLEVILLE WASHER,M10 Bolt Size x 20mm OD x 2.6mm Thk

25шт.

7

11343731

SCREW,Hex, M10 x 1.25 x 65mm, Cl 10.9

5шт.

7

15888731

SCREW,Hex, M10 x 1.25 x 55mm, Cl 10.9

11шт.

7

15888824

BOLT,Hex, M10 x 1.25 x 70mm, Cl 8.8

1шт.

8

4607934

SCREW,Hex, M10 x 1.25 x 178mm

M10 x 1.25 x 178

2шт.

9

11193874

BELLEVILLE WASHER,M8 Bolt Size x 16mm OD x 1.4mm Thk

18шт.

10

14457681

O-RING,0.103" Thk x 0.862" ID, -118, Cl 7, 75 Duro

1шт.

Выбрано товаров: 12