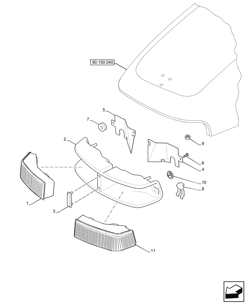
Запчасти Case IH JX95HC PLUS (55.404.040) - VAR - 334344, 334345, 334348, 334349 - HEADLAMP (55) - ELECTRICAL SYSTEMS

Схема запчастей Case IH JX95HC PLUS - (55.404.040) - VAR - 334344, 334345, 334348, 334349 - HEADLAMP (55) - ELECTRICAL SYSTEMS
9
5
1
10
11
2
90.150.040
6
8
3
7
4
FIT
1:1
100%

Артикул

Название

Примечание

Количество

1

5091969

HEADLAMP

RH

1шт.

2

5091961

HOUSING

1шт.

3

5091963

BRACKET

Center

1шт.

4

47127433

BRACKET

LH

1шт.

5

47127434

PLATE

RH

1шт.

6

10559807

SELF-TAP SCREW,Hex Flg, M6.3 x 16mm

Hex FLG, M 6.30 x 16.00 mm

4шт.

7

5091974

GROMMET

2шт.

8

87660585

CLIP

6шт.

9

5092105

NUT

2шт.

10

47126667

SPRING CLIP

6шт.

11

5091970

HEADLAMP

LH

1шт.

Выбрано товаров: 11