Запчасти Case IH JX1075C (1.82.7/07[07]) - (VAR.136) 2 REMOTE VALVES FOR EDC - PIPES - D5484 (07) - HYDRAULIC SYSTEM

Схема запчастей Case IH JX1075C - (1.82.7/07[07]) - (VAR.136) 2 REMOTE VALVES FOR EDC - PIPES - D5484 (07) - HYDRAULIC SYSTEM
14
13
8
17
1
19
a
15
5
2
5
16
1.82.7/1
4
18
4
11
pag. 5
10
11
21
6
12
11
pag. 5
7
20
a
9
3
3
12
2
pag. 5
22
FIT
1:1
100%

Артикул

Название

Примечание

Количество

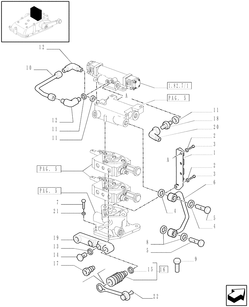
1

5179944

CONSOLE

1шт.

2

11190574

BELLEVILLE WASHER,M10 Bolt Size x 20mm OD x 2.3mm Thk

2шт.

3

15970524

BOLT,Hex, M10 x 1.25 x 20mm, Cl 8.8, Full Thd

2шт.

4

5186176

SEALING WASHER,15.80mm ID x 26.92mm OD x 1.50mm, Steel, Zinc

4шт.

5

5184345

BANJO BOLT,M18 x 1.5 x 34mm

M18

2шт.

6

5174038

RIGID TUBE

UNLOAD

1шт.

7

16043824

SCREW,Hex, M8 x 1.25 x 30mm, Cl 8.8, Full Thd, DAC

5шт.

8

14437985

O-RING,15.3mm ID x 2.4mm

4шт.

9

15540424

SCREW,Hex, M12 x 1.25 x 30mm, Cl 8.8, Full Thd

2шт.

10

5174040

RIGID TUBE

LOAD SENSOR

1шт.

11

165202

O-RING,0.072" Thk x 0.351" ID, -904, Cl 6, 90 Duro

3шт.

12

83934423

90 ELBOW,7/16"-20, 37° x 7/16"-20, O-Ring

1/4" Tube

2шт.

13

5135739

O-RING,0.737" ID x 0.943" OD x 0.103"

4шт.

14

5168481

BANJO BOLT,M18 x 1.5 x 38mm

M18

4шт.

15

14438085

O-RING,19.3mm ID x 2.4mm

4шт.

16

5179557

COUPLING, QUICK, FEM

include p/n 1534623C1

4шт.

1534623C1

SEAL KIT

1шт.

17

5101741

QUICK MALE COUPLING

4шт.

18

82002503

HYD CONNECTOR,1/2-20 UNF-2A, 7/16-20 UNF-2A, 31.2mm L

1/2"

1шт.

19

5185533

HYD CONNECTOR

2шт.

20

86513593

90 ELBOW,90 Degree, 1/2"-20, 37 Degree x 1/2"-20, 37 Degree Fem Sw

1шт.

21

5188390

SPACER

1шт.

22

5186723

DUST CAP,24mm, Black

Black, Std.

2шт.

Выбрано товаров: 23