Качественные детали и логистика
Оригинальные и аналоговые запчасти с доставкой по России, Казахстану и Беларуси
©2022 PartSell ООО "Система" ИНН 2463123282 ОГРН 1212400004838
Центральный офис: г. Красноярск, Академика Киренского, д.87, пом.4
Телефон: 8 (800) 777-65-74 Email: zakaz@partsell.ru
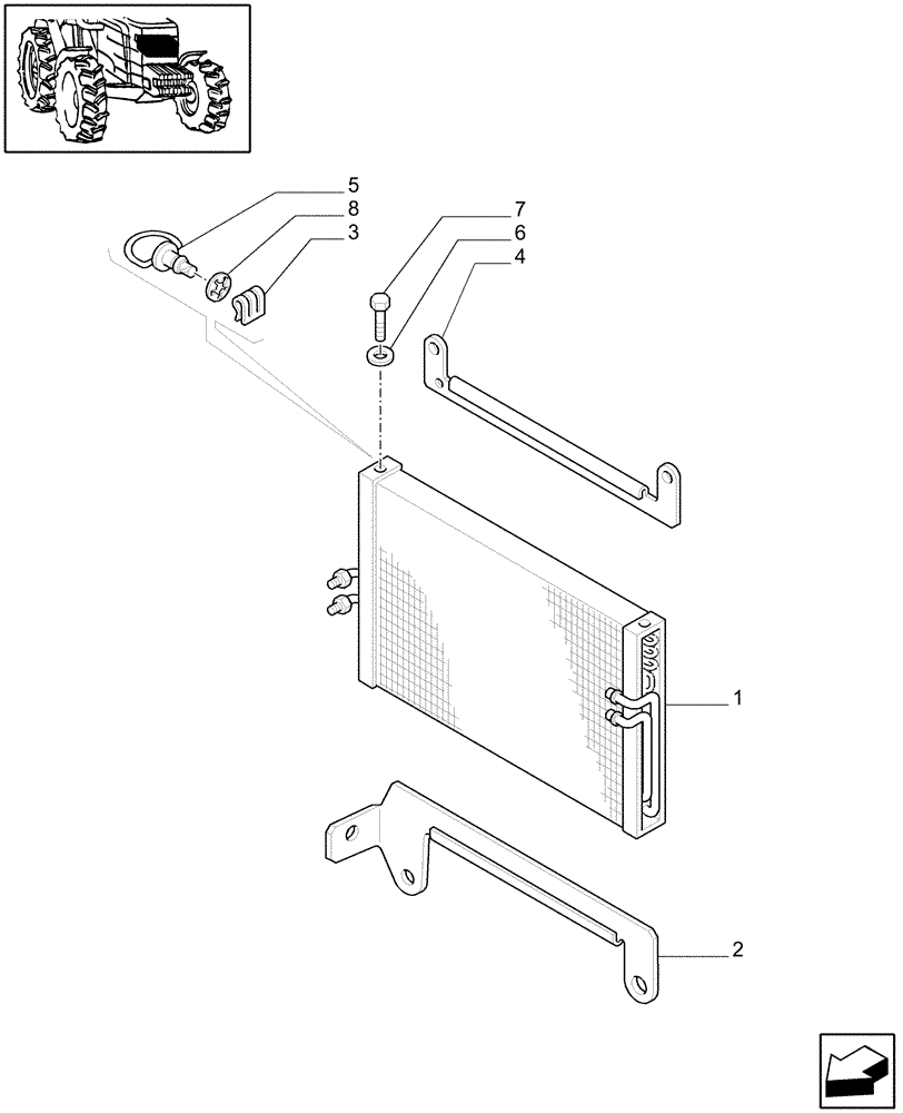
(0.88.0[02]) - (VAR.577-608) AIR CONDITIONING - CONDENSER
№
Артикул
Название
Примечание
Количество
1
47128034
COOLER ASSY.
1шт.
2
47128035
GUIDE
UPPER
3
82004582
CLIP,Square, 25mm
4
47128036
5
82011199
STUD
6
86517328
LOCK WASHER,6.1mm ID x 11.8mm OD x 1.7mm Thk
4шт.
7
10902024
SCREW,Hex, M6 x 12mm, Cl 8.8
8
82004583
RETAINER,6.3mm ID x 12.5mm OD x 0.5mm Thk
Выбрано товаров: 0