Запчасти Case IH JX1085C (1.82.7/02[04]) - (VAR.025) 1 REAR REMOTE VALVE FOR MID-MOUNT AND MDC - RINGS - D5484 (07) - HYDRAULIC SYSTEM

Схема запчастей Case IH JX1085C - (1.82.7/02[04]) - (VAR.025) 1 REAR REMOTE VALVE FOR MID-MOUNT AND MDC - RINGS - D5484 (07) - HYDRAULIC SYSTEM
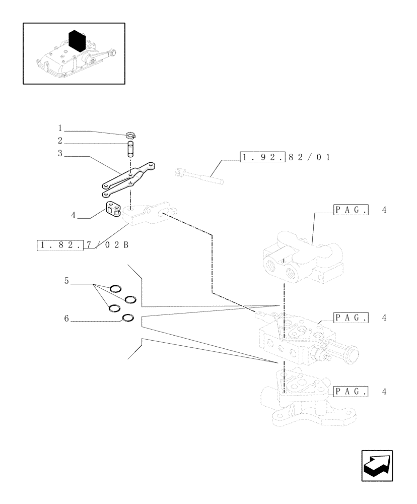
1
pag. 4
5
6
pag. 4
pag. 4
3
2
4
1.92.82/01
1.82.7/02b
FIT
1:1
100%

Артикул

Название

Примечание

Количество

1

11087776

CIRCLIP,Ext., M6, BLO

1шт.

2

5172456

PIN,6mm OD x 20mm L

1шт.

3

5178183

CLEVIS

1шт.

4

5116896

LINK,19.05mm Pitch

1шт.

5

87335172

SEALING RING,19mm ID x 26mm OD x 3mm Thk

SEALRING 19 x 3.50 x 3

6шт.

6

87357854

SEALING RING,15.5mm ID x 19.5mm OD x 2mm Thk

SEALRING D=19.2

2шт.

Выбрано товаров: 6