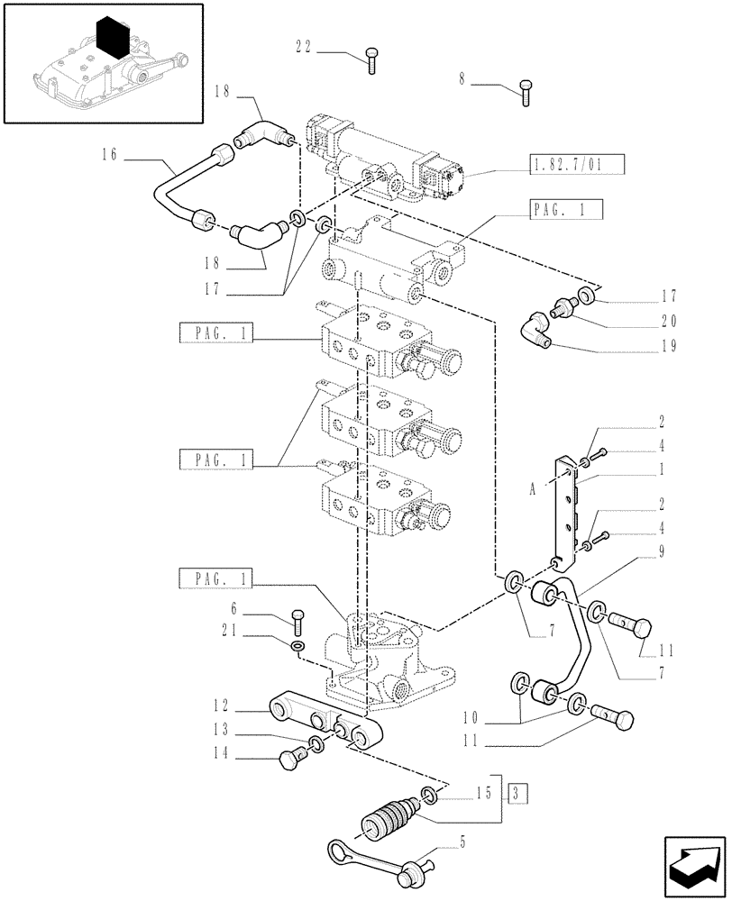
Запчасти Case IH JX1085C (1.82.7/10[03]) - (VAR.164) 3 REAR REMOTE VALVES FOR EDC - QUICK COUPLING - C5484 (07) - HYDRAULIC SYSTEM

Схема запчастей Case IH JX1085C - (1.82.7/10[03]) - (VAR.164) 3 REAR REMOTE VALVES FOR EDC - QUICK COUPLING - C5484 (07) - HYDRAULIC SYSTEM
6
17
13
4
7
5
2
1
22
pag. 1
18
11
12
2
10
4
8
7
18
pag. 1
9
11
3
21
15
17
1.82.7/01
14
pag. 1
a
19
pag. 1
20
16
FIT
1:1
100%

Артикул

Название

Примечание

Количество

1

5179944

CONSOLE

1шт.

2

11190574

BELLEVILLE WASHER,M10 Bolt Size x 20mm OD x 2.3mm Thk

4шт.

3

5179557

COUPLING, QUICK, FEM

include p/n 1534623C1

6шт.

4

15970524

BOLT,Hex, M10 x 1.25 x 20mm, Cl 8.8, Full Thd

2шт.

1534623C1

SEAL KIT

1шт.

5

5186723

DUST CAP,24mm, Black

Black

6шт.

6

15540424

SCREW,Hex, M12 x 1.25 x 30mm, Cl 8.8, Full Thd

2шт.

7

5186176

SEALING WASHER,15.80mm ID x 26.92mm OD x 1.50mm, Steel, Zinc

2шт.

8

16290124

SCREW,M12 x 1.25 x 45mm, Cl 8.8

M12x45

1шт.

9

5174118

RIGID TUBE

1шт.

10

14437985

O-RING,15.3mm ID x 2.4mm

6шт.

11

5184345

BANJO BOLT,M18 x 1.5 x 34mm

2шт.

12

5185533

HYD CONNECTOR

3шт.

13

5135739

O-RING,0.737" ID x 0.943" OD x 0.103"

6шт.

14

5168481

BANJO BOLT,M18 x 1.5 x 38mm

M18

6шт.

15

14438085

O-RING,19.3mm ID x 2.4mm

5шт.

16

5174040

RIGID TUBE

1шт.

17

80165202

O-RING

90 Duro, .351" ID x .072" Thk

3шт.

18

80216773

ELBOW

90°, Male 37° FL - Male, W/O-Ring, 1/4" Tube

2шт.

19

86513593

90 ELBOW,90 Degree, 1/2"-20, 37 Degree x 1/2"-20, 37 Degree Fem Sw

1шт.

20

82002503

HYD CONNECTOR,1/2-20 UNF-2A, 7/16-20 UNF-2A, 31.2mm L

1шт.

21

5188390

SPACER

1шт.

22

16043824

SCREW,Hex, M8 x 1.25 x 30mm, Cl 8.8, Full Thd, DAC

2шт.

Выбрано товаров: 23