Запчасти Case IH JX1085C (1.82.7/11[05]) - (VAR.165) 4 REAR REMOTE VALVES FOR MDC - RINGS - D5484 (07) - HYDRAULIC SYSTEM

Схема запчастей Case IH JX1085C - (1.82.7/11[05]) - (VAR.165) 4 REAR REMOTE VALVES FOR MDC - RINGS - D5484 (07) - HYDRAULIC SYSTEM
1.92.82/10
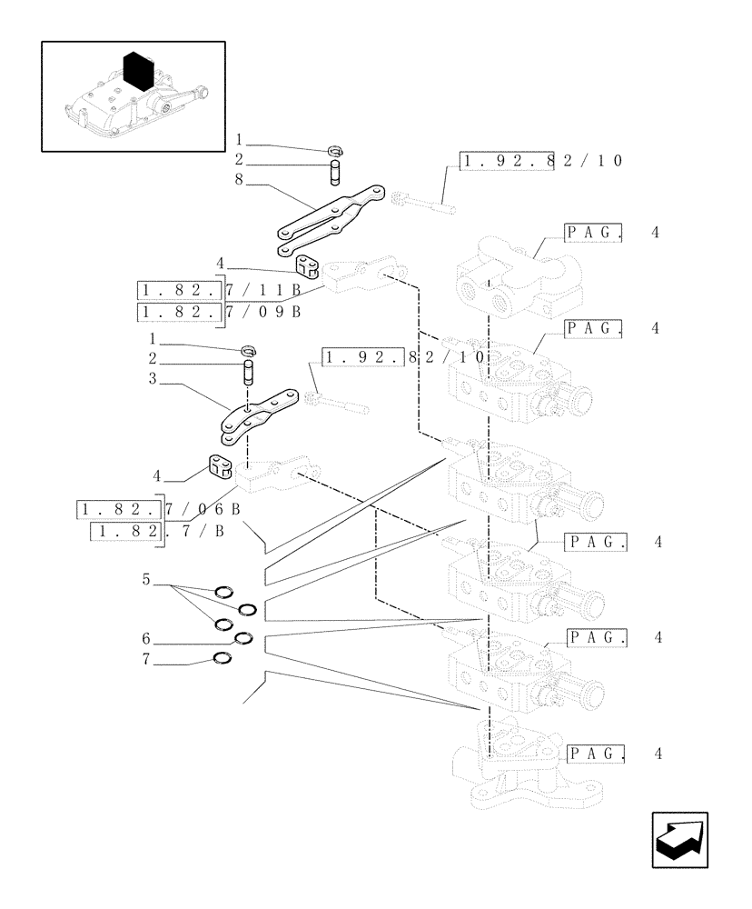
5
1.82.7/06b
1
pag. 4
4
2
pag. 4
pag. 4
7
1.82.7/11b
1
6
1.82.7/09b
1.82.7/b
8
1.92.82/10
3
pag. 4
pag. 4
4
2
FIT
1:1
100%

Артикул

Название

Примечание

Количество

1

11087776

CIRCLIP,Ext., M6, BLO

4шт.

2

5172456

PIN,6mm OD x 20mm L

4шт.

3

5178877

CLEVIS

2шт.

4

5116896

LINK,19.05mm Pitch

4шт.

5

87335172

SEALING RING,19mm ID x 26mm OD x 3mm Thk

SEALRING 19 x 3.50 x 3

15шт.

6

87357854

SEALING RING,15.5mm ID x 19.5mm OD x 2mm Thk

SEALRING D=19.2

5шт.

7

5135739

O-RING,0.737" ID x 0.943" OD x 0.103"

15шт.

8

5178183

CLEVIS

2шт.

Выбрано товаров: 8