Запчасти Case IH JX1085C (1.82.7/12[03]) - (VAR.166) 4 REAR REMOTE VALVES FOR EDC - QUICK COUPLING - C5484 (07) - HYDRAULIC SYSTEM

Схема запчастей Case IH JX1085C - (1.82.7/12[03]) - (VAR.166) 4 REAR REMOTE VALVES FOR EDC - QUICK COUPLING - C5484 (07) - HYDRAULIC SYSTEM
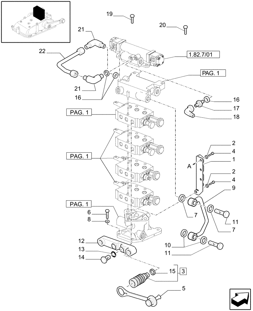
1
13
a
11
9
1.82.7/01
pag. 1
21
3
17
4
pag. 1
2
11
19
4
5
10
p
1
8
18
.
g
22
6
pag. 1
7
7
a
15
20
21
2
16
16
14
12
FIT
1:1
100%

Артикул

Название

Примечание

Количество

1

5179944

CONSOLE

1шт.

2

11190574

BELLEVILLE WASHER,M10 Bolt Size x 20mm OD x 2.3mm Thk

4шт.

3

5179557

COUPLING, QUICK, FEM

include p/n 1534623C1

8шт.

1534623C1

SEAL KIT

1шт.

4

15970524

BOLT,Hex, M10 x 1.25 x 20mm, Cl 8.8, Full Thd

2шт.

5

5186723

DUST CAP,24mm, Black

Black

8шт.

6

15540424

SCREW,Hex, M12 x 1.25 x 30mm, Cl 8.8, Full Thd

2шт.

7

5186176

SEALING WASHER,15.80mm ID x 26.92mm OD x 1.50mm, Steel, Zinc

4шт.

8

5188390

SPACER

1шт.

9

5178032

RIGID TUBE

1шт.

10

14437985

O-RING,15.3mm ID x 2.4mm

8шт.

11

5184345

BANJO BOLT,M18 x 1.5 x 34mm

2шт.

12

5185533

HYD CONNECTOR

4шт.

13

5135739

O-RING,0.737" ID x 0.943" OD x 0.103"

8шт.

14

5168481

BANJO BOLT,M18 x 1.5 x 38mm

M18

8шт.

15

14438085

O-RING,19.3mm ID x 2.4mm

8шт.

16

81827528

O-RING,0.072" Thk x 0.351" ID, -904, Cl 6, 90 Duro

3шт.

17

82002503

HYD CONNECTOR,1/2-20 UNF-2A, 7/16-20 UNF-2A, 31.2mm L

1шт.

18

86513593

90 ELBOW,90 Degree, 1/2"-20, 37 Degree x 1/2"-20, 37 Degree Fem Sw

1шт.

19

16043824

SCREW,Hex, M8 x 1.25 x 30mm, Cl 8.8, Full Thd, DAC

2шт.

20

16290124

SCREW,M12 x 1.25 x 45mm, Cl 8.8

M12x1.25x45

1шт.

21

80216773

ELBOW

90, Male 37° FL-Male, W/O-ring

2шт.

22

5174040

RIGID TUBE

1шт.

Выбрано товаров: 23