Запчасти Case IH JX1095C (1.82.7/04[01]) - (VAR.027) 2 REAR REMOTE VALVES FOR MID-MOUNT AND MDC - REMOTE VALVES - C5484 (07) - HYDRAULIC SYSTEM

Схема запчастей Case IH JX1095C - (1.82.7/04[01]) - (VAR.027) 2 REAR REMOTE VALVES FOR MID-MOUNT AND MDC - REMOTE VALVES - C5484 (07) - HYDRAULIC SYSTEM
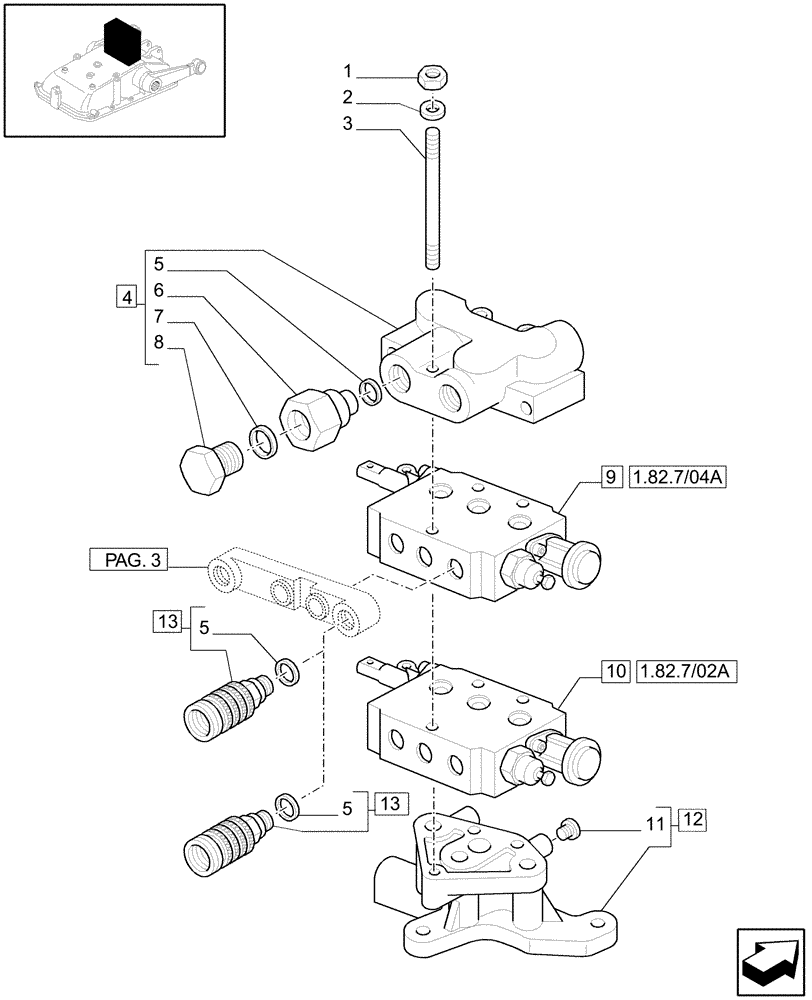
9
1.82.7/04a
5
6
13
p
8
a
12
3
.
2
10
4
3
11
1.82.7/02a
7
13
5
1
5
g
FIT
1:1
100%

Артикул

Название

Примечание

Количество

1

5116857

NUT,3/8" - 24

3/8"

6шт.

2

12648304

WASHER,10.2mm ID x 17mm OD x 1.5mm Thk

D=10

3шт.

3

5151506

THREADED ROD,3/8" - 24 x 6-5/8"

3шт.

4

5173758

SUPPORT

ASSY

1шт.

5

14438085

O-RING,19.3mm ID x 2.4mm

3шт.

6

5174043

HYD CONNECTOR,Hex, M22 x 1.5 x 52mm L

1шт.

7

167266

O-RING,0.116" Thk x 0.924" ID, -912, Cl 6, 90 Duro

90 Duro, .924" ID x .116" Thk

1шт.

8

83957506

PLUG,3/4"

1шт.

9

5171281

CONTROL VALVE

ASSY., S/D w/Kickout & Float for Mid-Mount Remotes Only

1шт.

10

47129231

CONTROL VALVE

ASSY., S/D w/Kickout for Mid-Mount Remotes Only

1шт.

11

10269650

PLUG

M16x1.5

1шт.

12

5176800

FLANGE

1шт.

13

5179557

COUPLING, QUICK, FEM

STND., include p/n 1534623C1

2шт.

1534623C1

SEAL KIT

1шт.

Выбрано товаров: 14