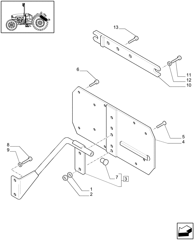
Запчасти Case IH JX1095C (1.92.99) - LICENSE PLATE SUPPORT (10) - OPERATORS PLATFORM/CAB

Схема запчастей Case IH JX1095C - (1.92.99) - LICENSE PLATE SUPPORT (10) - OPERATORS PLATFORM/CAB
9
11
12
4
1
6
3
13
2
5
7
8
10
FIT
1:1
100%

Артикул

Название

Примечание

Количество

1

14447021

WASHER,5.5mm ID x 15mm OD x 1mm Thk

2шт.

2

12574215

NUT,M6 x 1, Cl 8

1шт.

3

47132909

SUPPORT

L/Cab

1шт.

3

47133036

SUPPORT

W/Cab

1шт.

4

47133045

PLATE

1шт.

5

14441421

SCREW,Flat Csk Hd, M6 x 20mm, Cl 8.8

2шт.

6

86585703

SCREW,Phillips Drive, Pan HD, M8 x 20mm, Cl 4.8

2шт.

7

5176369

PLUG,21.2mm OD

1шт.

8

16043430

BOLT,Hex, M8 x 1.25 x 20mm, Cl 10.9, Full Thd

W/Cab

2шт.

8

16043637

SCREW,Hex, M8 x 1.25 x 25mm, Cl 10.9, Full Thd

L/Cab

2шт.

9

11198179

BELLEVILLE WASHER,M8 Bolt Size x 22mm OD x 2.2mm Thk

2шт.

10

47133034

BRACKET

LH, W/Cab

1шт.

11

15980524

BOLT,Hex, M16 x 1.5 x 30mm, Cl 8.8, Full Thd

W/Cab

1шт.

12

11194274

BELLEVILLE WASHER,M16 Bolt Size x 32mm OD x 3.4mm Thk

1шт.

13

16043834

BOLT,Hex, M8 x 1.25 x 30mm, Cl 10.9, Full Thd

w/Cab

2шт.

Выбрано товаров: 15