Запчасти Case IH JX1070N (1.80.1/03[01]) - (VAR.804) SYNCHRO MESH GEARED POWER TAKE-OFF (540-540E RPM) - SHAFTS AND GEARS (07) - HYDRAULIC SYSTEM

Схема запчастей Case IH JX1070N - (1.80.1/03[01]) - (VAR.804) SYNCHRO MESH GEARED POWER TAKE-OFF (540-540E RPM) - SHAFTS AND GEARS (07) - HYDRAULIC SYSTEM
1.80.1
6
26
27
15
3
10
7
13
19
5
20
17
14
9
23
4
13
2
21
1
7
29
25
22
16
24
16
28
18
11
8
12
FIT
1:1
100%

Артикул

Название

Примечание

Количество

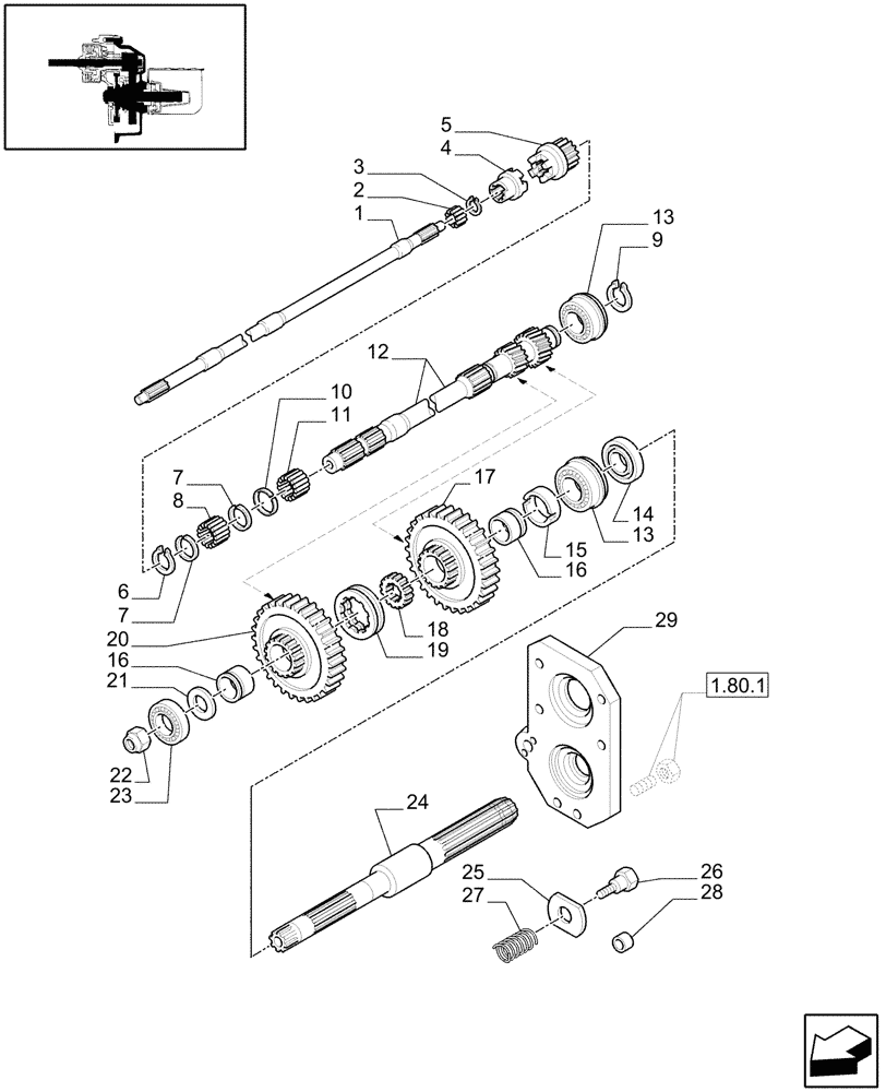
1

5177144

CLUTCH INPUT SHAFT

1шт.

2

5103238

NEEDLE BEARING,15mm ID x 21mm OD x 16mm W

1шт.

3

11067276

SNAP RING,M24, Ext

1шт.

4

5172083

COUPLING,10T

1шт.

5

5183818

SPLINED COUPLING,38mm ID x 71mm OD x 48.5mm L

1шт.

6

13398776

SNAP RING,M35, Int

1шт.

7

5173213

SNAP RING,1.5mm Thk, Int

2шт.

8

5173212

NEEDLE BEARING,Needle, 37mm ID x 52mm OD x 22mm W

1шт.

9

11068876

SNAP RING,M40, Ext

1шт.

10

5142178

SNAP RING,1.5mm Thk

1шт.

11

5173210

NEEDLE BEARING,Needle, 43mm ID x 58mm OD x 22mm W

1шт.

12

47123684

SHAFT

540-750 RPM

1шт.

13

5168238

BALL BEARING,40mm ID x 90mm OD x 23mm W

2шт.

14

5124606

SEAL,50mm ID x 65mm OD x 8mm Thk

1шт.

15

5124675

THRUST WASHER,38.1mm ID x 56mm OD x 4mm Thk

2шт.

16

5124668

BUSHING,38mm ID x 46mm OD x 28mm L

2шт.

17

5168208

DRIVEN GEAR

750 RPM

1шт.

18

5130550

PINION,28T / 12T

1шт.

19

5130551

SLEEVE,70mm ID x 100mm OD x 20mm L

1шт.

20

47123681

GEAR

1шт.

21

5168181

THRUST WASHER,35.1mm ID x 50mm OD x 4mm Thk

1шт.

22

5122985

NUT,Ring, M32, 1.5 Pitch

1шт.

23

20045200

BALL BEARING,35mm ID x 80mm OD x 21mm

1шт.

24

5180296

SHAFT,M32 x 1.5 x 264.5mm L, 12T

1шт.

25

47131175

BRAKE DISC,14mm ID x 70mm OD x 4mm Thk

1шт.

26

47130774

PIN,13.5mm OD x 22mm L

1шт.

27

47132279

SPRING,Compression, 33mm OD x 29mm L

1шт.

28

5180607

SPACER

1шт.

29

47133661

COVER

1шт.

Выбрано товаров: 29