Запчасти Case IH JX1070N (1.80.1/04[01]) - (VAR.807) SYNCHRO MESH GEARED POWER TAKE-OFF (540 RPM) - SHAFTS AND GEARS (07) - HYDRAULIC SYSTEM

Схема запчастей Case IH JX1070N - (1.80.1/04[01]) - (VAR.807) SYNCHRO MESH GEARED POWER TAKE-OFF (540 RPM) - SHAFTS AND GEARS (07) - HYDRAULIC SYSTEM
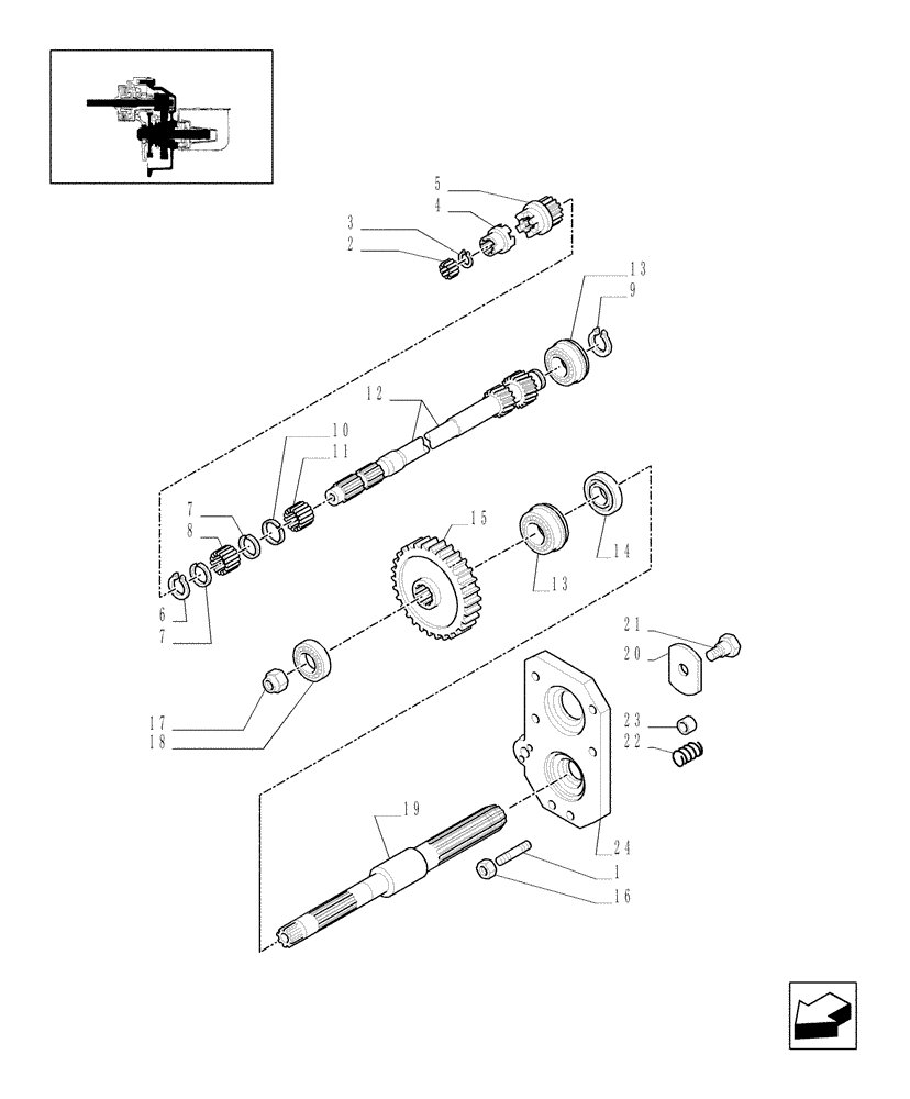
15
19
18
20
6
13
13
10
5
11
8
23
16
2
22
4
7
3
12
7
9
21
1
14
24
17
FIT
1:1
100%

Артикул

Название

Примечание

Количество

1

13543624

STUD,M8 x 1.25 x 46mm L, 22 Thd, Cl 8.8

M8 x 16 x 30

6шт.

2

5103238

NEEDLE BEARING,15mm ID x 21mm OD x 16mm W

15x21x16

1шт.

3

11067276

SNAP RING,M24, Ext

1шт.

4

5172083

COUPLING,10T

1шт.

5

5183818

SPLINED COUPLING,38mm ID x 71mm OD x 48.5mm L

1шт.

6

13398776

SNAP RING,M35, Int

1шт.

7

5173213

SNAP RING,1.5mm Thk, Int

2шт.

8

5173212

NEEDLE BEARING,Needle, 37mm ID x 52mm OD x 22mm W

37x52x22

1шт.

9

11068876

SNAP RING,M40, Ext

1шт.

10

5142178

SNAP RING,1.5mm Thk

1шт.

11

5173210

NEEDLE BEARING,Needle, 43mm ID x 58mm OD x 22mm W

43x58x22

1шт.

12

47123686

SHAFT

540 RPM

1шт.

13

5168238

BALL BEARING,40mm ID x 90mm OD x 23mm W

40x90x23

2шт.

14

5124606

SEAL,50mm ID x 65mm OD x 8mm Thk

50x65x8

1шт.

15

47123682

GEAR,61T

540 RPM

1шт.

16

16100811

NUT,Hex, M8, 6.80mm, Cl 8, ZND

6шт.

17

5122985

NUT,Ring, M32, 1.5 Pitch

M32

1шт.

18

20045200

BALL BEARING,35mm ID x 80mm OD x 21mm

35x80x21

1шт.

19

5180296

SHAFT,M32 x 1.5 x 264.5mm L, 12T

1шт.

20

47131175

BRAKE DISC,14mm ID x 70mm OD x 4mm Thk

1шт.

21

47130774

PIN,13.5mm OD x 22mm L

1шт.

22

47132279

SPRING,Compression, 33mm OD x 29mm L

1шт.

23

5180607

SPACER

1шт.

24

47133661

COVER

1шт.

Выбрано товаров: 24