Запчасти Case IH JX1070N (1.80.1/07[03]) - (VAR.959) NA POWER TAKE-OFF (540-1000 RPM) - COUPLING (07) - HYDRAULIC SYSTEM

Схема запчастей Case IH JX1070N - (1.80.1/07[03]) - (VAR.959) NA POWER TAKE-OFF (540-1000 RPM) - COUPLING (07) - HYDRAULIC SYSTEM
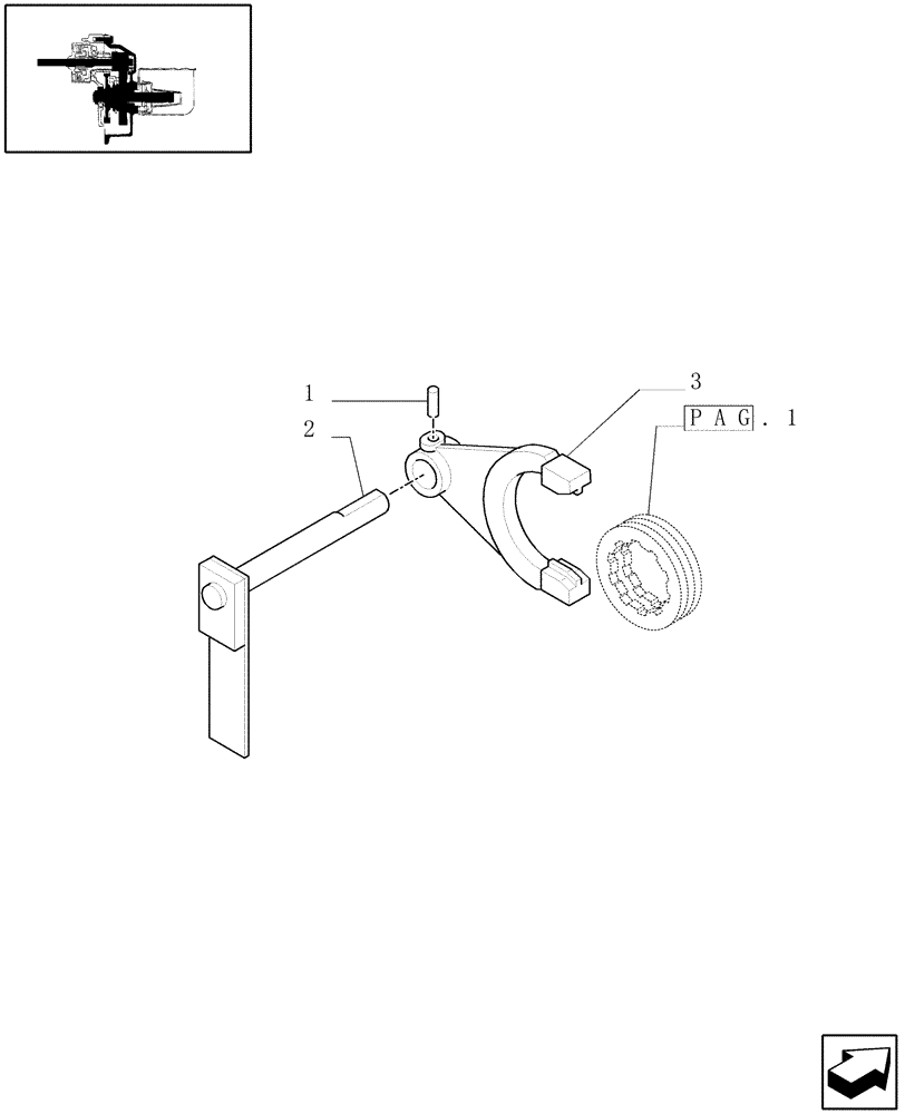
1
2
pag.1
3
FIT
1:1
100%

Артикул

Название

Примечание

Количество

1

14604070

LOCK PIN,M6 x 28, Slotted

1шт.

2

5180674

ROD,84.5mm L

1шт.

3

5180677

YOKE,16mm Hole Dia

1шт.

Выбрано товаров: 3