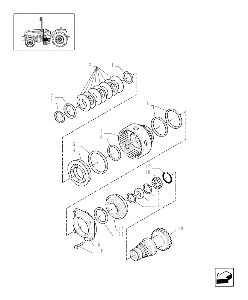
Запчасти Case IH JX1075N (1.28.7/02[04]) - (VAR.297) HI-LO NA - HYDRAULIC CONTROL OF GEARBOX, DRIVE GEAR SHAFT (03) - TRANSMISSION

Схема запчастей Case IH JX1075N - (1.28.7/02[04]) - (VAR.297) HI-LO NA - HYDRAULIC CONTROL OF GEARBOX, DRIVE GEAR SHAFT (03) - TRANSMISSION
1
5
13
18
11
10
15
6
16
12
14
4
8
3
17
9
1
2
7
FIT
1:1
100%

Артикул

Название

Примечание

Количество

1

5168348

SNAP RING,1.5mm Thk, Ext

2шт.

2

5168347

CUP,56mm ID x 66mm OD x 3mm Thk

1шт.

3

5168346

BELLEVILLE WASHER,56mm ID x 80mm OD x 3.3mm Thk

7шт.

4

5179794

PISTON

1шт.

5

5172413

SLIPPER,107.5mm ID x 115mm OD x 3.2mm Thk

1шт.

6

5168345

SEAL,67.55mm ID x 75mm OD x 3.2mm Thk

67.55 x 75 x 3.2

1шт.

7

5177478

HOUSING

1шт.

8

5131232

OIL SCRAPER RING,Split, 83.02mm ID x 90mm OD x 2.22mm Thk

SEALRING

2шт.

9

5176961

MANIFOLD

1шт.

10

16043924

BOLT,Hex, M8 x 1.25 x 35mm, Cl 8.8, Full Thd

4шт.

11

5177510

SNAP RING,2mm Thk, Ext

1шт.

12

5168366

BALL BEARING,70mm ID x 110mm OD x 20mm W

1шт.

13

5117076

CIRCLIP,M47, Ext

1шт.

14

5168364

SEAL,40mm ID x 47mm OD x 4mm Thk

1шт.

15

5139494

SNAP RING,45mm D x 1.5mm Thk, Ext

1шт.

16

5168362

ROLLER CAGE BEARING,40mm ID x 45mm OD x 17mm W

1шт.

17

14455080

O-RING,50.52mm ID x 1.78mm

1шт.

18

5177502

SHAFT,184mm

1шт.

Выбрано товаров: 18