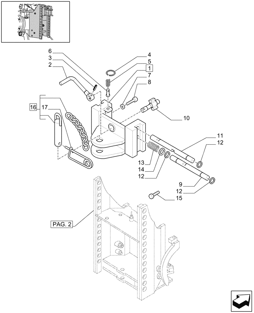
Запчасти Case IH JX1075N (1.89.0/01[01]) - (VAR.572-891) FIXED HOOK, CAT. "C", VERTICAL ADJUST SLIDING (09) - IMPLEMENT LIFT

Схема запчастей Case IH JX1075N - (1.89.0/01[01]) - (VAR.572-891) FIXED HOOK, CAT. "C", VERTICAL ADJUST SLIDING (09) - IMPLEMENT LIFT
17
10
2
1
pag. 2
4
5
11
13
12
3
15
12
8
14
7
16
6
9
12
FIT
1:1
100%

Артикул

Название

Примечание

Количество

1

5174811

TOW HOOK

Incl. Ref. 2-14

1шт.

2

48021011

HANDLE

1шт.

3

14604070

LOCK PIN,M6 x 28, Slotted

1шт.

4

5191181

RING

1шт.

5

5191175

SPRING

1шт.

6

5191179

PIN

1шт.

7

5191173

WASHER

1шт.

8

14306221

HEX SOC SCREW,M8 x 16mm, Cl 8.8, Full Thd

1шт.

9

5191166

ROD

Lower

1шт.

10

5190754

PIN

1шт.

11

5191167

ROD

Upper

1шт.

12

5191172

RING

3шт.

13

5191176

SPRING

1шт.

14

5191177

RING

1шт.

15

11390524

BOLT,Hex, M16 x 1.5 x 40mm, Cl 8.8

8шт.

16

5162712

PIN

ASSY, Incl 17

1шт.

17

5152004

HAIR PIN COTTER,195mm L

1шт.

Выбрано товаров: 17