Запчасти Case IH JX1095N (1.28.7/01[01]) - (VAR.271) HI-LO HYDRAULIC CONTROL OF GEARBOX, CLUTCH COVER PLATE AND LID (03) - TRANSMISSION

Схема запчастей Case IH JX1095N - (1.28.7/01[01]) - (VAR.271) HI-LO HYDRAULIC CONTROL OF GEARBOX, CLUTCH COVER PLATE AND LID (03) - TRANSMISSION
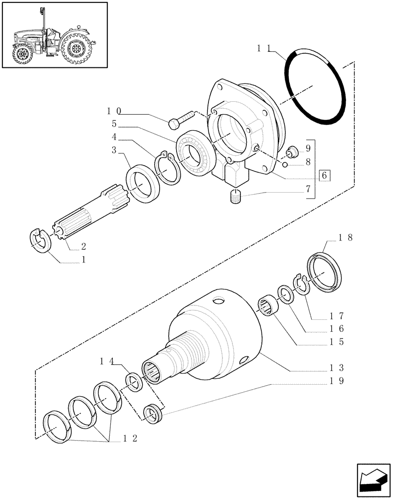
7
5
19
15
4
9
3
11
1
2
6
16
13
17
14
10
18
8
12
FIT
1:1
100%

Артикул

Название

Примечание

Количество

1

13421976

SNAP RING,M45, Int

1шт.

2

5177498

SHAFT

, Serial Range: -HJC082871

1шт.

2

87558416

SHAFT,191mm

, Start Serial: HJC082872

1шт.

3

5159078

SEAL,55mm ID x 70mm OD x 8mm Thk

55x70x8

1шт.

4

80327911

CIRCLIP

DIA=55

1шт.

5

5122846

BALL BEARING,55mm ID x 90mm OD x 18mm W

1шт.

6

5177559

COVER

Assy.

1шт.

7

10269404

PLUG,M12 x 1.5

4шт.

8

20063430

BALL,4.76mm OD, Gr 100

DIA=3/16"

1шт.

9

5168157

BUSHING,8.5mm ID x 10.7mm OD x 5.5mm L

2шт.

10

16043624

SCREW,Hex, M8 x 1.25 x 25mm, Cl 8.8, Full Thd

4шт.

11

87017583

O-RING,0.103" Thk x 5.987" ID, -163, Cl 7, 75 Duro

1шт.

12

83911795

SEAL,Split, 70.76mm ID x 76.2mm OD x 2.13mm Thk

3шт.

13

5177464

BELL HOUSING

Assy., Serial Range: -HJC082871

1шт.

13

87558414

BELL HOUSING

, Start Serial: HJC082872

1шт.

14

5179747

SEAL,25mm ID x 31mm OD x 7mm Thk

25x31x7, Serial Range: -HJC082871

1шт.

15

5181211

BEARING ASSY,Needle, 25mm ID x 32mm OD x 12mm W

1шт.

16

5181057

THRUST WASHER,25.1mm ID x 32mm OD x 4mm Thk

1шт.

17

5180152

CIRCLIP,27.8mm ID

1шт.

18

5168345

SEAL,67.55mm ID x 75mm OD x 3.2mm Thk

67.55 x 75 x 3.2

1шт.

19

87528273

OIL SEAL,25mm ID x 40mm OD x 7mm Thk

25 x 40 x 7, Start Serial: HJC082872

1шт.

Выбрано товаров: 21